LEMON Manuals: Even more car manuals for everyone: 1960-2025
Home >> Honda >> 2008 >> Ridgeline V6-3.5L >> Repair and Diagnosis >> Windows and Glass >> Windows >> Power Window Switch >> Service and Repair >> Back Power Window Switch Test/Replacement
April 5, 2026: LEMON Manuals is launched! Read the announcement.

Back Power Window Switch Test/Replacement

Back Power Window Switch Test/Replacement

1. Remove the driver's door panel.
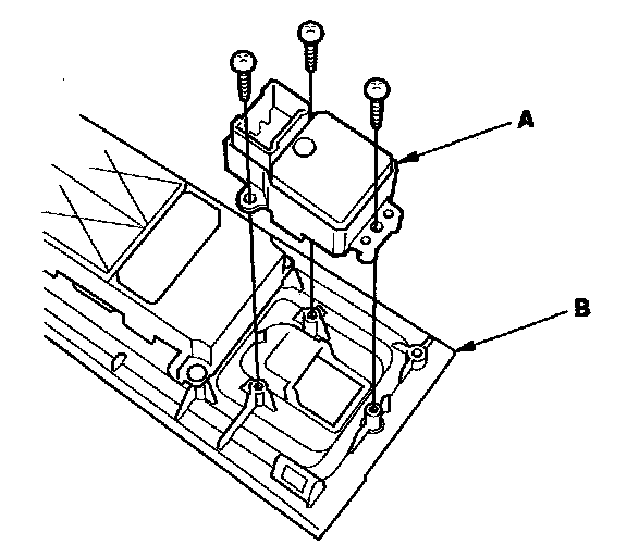
2. Remove the three mounting screws, then remove the back power window switch (A) from the switch panel (B).






3. Swap the back power window switch with another known-good switch and test. If the original back power window switch is faulty; replace it.
4. Install in the reverse order of removal.
5. Reset the power window control unit.