LEMON Manuals: Even more car manuals for everyone: 1960-2025
Home >> Honda >> 2009 >> Accord L4-2.4L >> Repair and Diagnosis >> Powertrain Management >> Computers and Control Systems >> Information Bus >> Description and Operation >> System Description
April 5, 2026: LEMON Manuals is launched! Read the announcement.

System Description




Multiplex Integrated Control System Description

MICU Control Functions Index

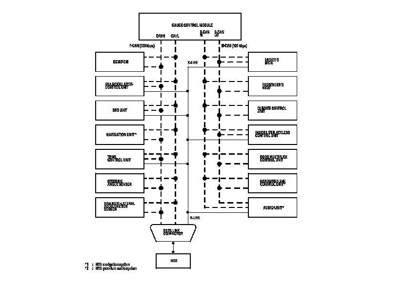
The driver's MICU (built into the under-dash fuse/relay box) is one of the B-CAN components. The driver's MICU controls many systems related to the body controller area network and the security system, and also works as a gateway to diagnose the other B-CAN connected ECUs with the HDS.

Refer to each system circuit diagram for details.





The driver's MICU also controls the function of these circuits:

- Entry lights (front individual map lights and ceiling light)

- Exterior lights (including the daytime running lights, and auto-headlights off)

- Horns

- Interlock system

- Keyless entry

- Power door locks

- Power window key-off timer

- Security alarm

- Turn signal/hazard warning lights

- Wiper/washer

Body Controller Area Network (B-CAN) and Fast Controller Area Network (F-CAN)

The body controller area network (B-CAN) and the fast controller area network (F-CAN) share information between multiple electronic control units (ECUs). B-CAN communication moves at a slower speed (125 kbps) for convenience related items and for other functions. F-CAN information moves at a faster speed (500 kbps) for "real time" functions such as fuel and emissions data. To allow both systems to share information, the gauge control module translates information from B-CAN to F-CAN and from F-CAN to B-CAN.






Gateway Function

The gauge control module acts as a gateway to allow both systems to share information. The gauge control module translates information from B-CAN to F-CAN and from F-CAN to B-CAN.






Network "Loss of Communication" Error Checking Function

The ECUs on the CAN circuit send messages to each other. If there are any communication malfunctions on the network, the LCD display on the gauge control module can indicate the error messages by entering the gauge control module self-diagnostic function. Initial Inspection and Diagnostic Overview

Self-diagnostic Function (On-board diagnosis)

By connecting the HDS to the data link connector (DLC), the HDS can retrieve the diagnostic information from the driver's MICU via a diagnostic line called K-LINE. The K-LINE is separated from the CAN lines, and connected to the CAN related ECUs. The driver's MICU is a gateway between the HDS and B-CAN related ECUs, and sends B-CAN diagnostic information to the HDS. When doing a function test with the HDS, the HDS sends an output signal through the K-LINE to the driver's MICU. The driver's MICU either relays the request to another ECU, or commands the function itself.






Wake-up and Sleep Function

The multiplex integrated control system has "wake-up" and "sleep" functions to decrease parasitic draw on the battery when the ignition switch is to LOCK (0).

- In the sleep mode, the multiplex integrated control system stops functioning (communication and CPU control) when it is not necessary for the system to operate.

- As soon as any operation is requested (for example, a door is unlocked), the related control units in the sleep mode immediately wake up and begin to function.

- When the ignition switch is turned to LOCK (0), and the driver's door is opened, then closed, there is a delay about 40 seconds before the control unit goes from the wake-up mode to the sleep mode.

- The sleep mode will not function if any door is opened or if a key is in the ignition.

- The draw is reduced from about 200 mA to less than 35 mA when in the sleep mode.

NOTE: Sleep and Wake-up Mode Test. Multiplex Integrated Control System Sleep and Wake-up Mode Test

Fail-safe Function

To prevent improper operation, the MICUs have a fail-safe function. In the fail-safe mode, the output signal is fixed when any part of the system malfunctions (for example, a faulty control unit or communication line).

Each control unit has a hardware fail-safe function that fixes the output signal when there is a CPU malfunction, and a software fail-safe function that ignores the signal from a malfunctioning control unit, which allows the system to operate normally.

Hardware Fail-safe Control

Fail-safe function

When a CPU problem or a abnormal power supply voltage is detected, the MICUs move to the hardware fail-safe mode, and each system output load is set to the pre-programmed fail-safe value.

Software Fail-safe Control

When any of the data from the B-CAN circuit cannot be received within a specified time, or an unusual combination of the data is recognized, the MICUs move to the software fail-safe mode. The data that cannot be received is forced to a pre-programmed value.

Power Supply Voltage Monitoring Function

The driver's MICU monitors the power supply voltage (back-up voltage). If the voltage goes below 10 V, the driver's MICU will not store a DTC.





Entry Lights Control System (Ceiling Lights, Map Lights, Ignition Key Light)

The driver's MICU control of the ceiling light ON/OFF is based on input signals from each switch.





Collision Detection Signal (CDS)

The driver's MICU control of the door lock actuators is based on IG1 and the SRS (CDS) signals.





Key Interlock (A/T)

The driver's MICU control of the key interlock solenoid is based on ignition switch ACCESSORY (I) position, the transmission range switch P position, and the park-pin switch signals.





Rear Window Defogger Timer Operation (With Climate Control)

The driver's MICU control of the rear window defogger timer is based on ignition switch and the rear window defogger switch signals.





Rear Window Defogger Timer Operation (With HVAC Control)

The driver's MICU control of the rear window defogger timer is based on the ignition switch and the rear window defogger switch signals.





Combination Light Switch

The driver's MICU control of the lighting system is based on input signals from each combination light switch.





Daytime Running Lights

The driver's MICU control of the headlights as daytime running lights is based on input signals from each switch.





Headlight Auto-OFF Function

The driver's MICU control of the lighting system is based on input signals from each switch.





Turn Signal/Hazard Warning Lights

The driver's MICU control of the turn signal/hazard warning lights is based on input signals from the turn signal switch and the hazard warning switch.





Courtesy Light

The driver's MICU control of the driver's and left rear door courtesy lights is based on input signal from the driver's and left rear door switches.





Wiper

The driver's MICU control of the wiper is based on input signals from each switch.





Power Window Relay

The driver's MICU control of the power windows is based on input signals from each switch.





Keyless Answer Back

The driver's MICU control of the lighting system and horns is based on keyless signals sent by B-CAN.





Security Answer Back

The driver's MICU control of the lighting system and horns is based on keyless signals sent by B-CAN.





Answer Back Response Operation

The driver's MICU control of the lighting system and horns is based on keyless signals sent by B-CAN.





Power Door Locks

The driver's MICU control of the door lock actuators is based on input signals of each switch.





Door Lock Response Operation

The driver's MICU control of the door lock actuators LOCK, UNLOCK, DRIVER'S UNLOCK, TRUNK UNLOCK is based on B-CAN door lock switch signals.





Keyless Entry System

The driver's MICU control of the door lock actuators is based on input signals of each switch.





Keyless PANIC Operation

The driver's MICU control of the keyless PANIC operation is based on B-CAN signals.





Auto Power Door Locks (LOCK operation)

The driver's MICU control of the door lock actuators is based on input signals from each switch.





Auto Power Door Locks (UNLOCK operation)

The driver's MICU control of the door lock actuators is based on input signals from each switch.





Security Alarm System

The driver's MICU control of the lighting system and horns is based on input signals of each switch and the B-CAN signals.





Power Supply Voltage Monitoring Function

The passenger's MICU monitors the power supply voltage (back-up voltage). If the voltage goes below 10 V, the passenger's MICU will not store DTCs.





Courtesy Light (Front passenger's side)

The passenger's MICU control of the front passenger door courtesy light is based on input signals from the front passenger door switch.





Power Door Locks (LOCK)

The passenger's MICU control of the front passenger's side door lock actuators is based on input signals from the driver's MICU.





Power Door Locks (UNLOCK)

The passenger's MICU control of the front passenger's side door lock actuators is based on input signals from the driver's MICU.





Exterior Lights

The passenger's MICU control of the front passenger's side headlight, and parking lights is based on input signals from the driver's MICU.





Automatic Lighting

The passenger's MICU control of the headlights and the parking lights is based on input signals from the automatic lighting sensor.





Washer Operation

The passenger's MICU control of the washer motor is based on input signals from the wiper switch.





Keyless Buzzer Operation

The passenger's MICU control of the keyless buzzer is based on input from the answer back signals.





Power Window Relay Circuit

The passenger's MICU control of the power window relay circuit in the passenger's under-dash fuse/relay box is based on input signals from the power window switches.





HDS Inputs and Commands

Certain inputs happen so quickly that the HDS cannot update fast enough. Hold the switch that is being tested while monitoring the Data List. This should give the HDS time to update the signal on the Data List.

Because the HDS software is updated to support the release for newer vehicles it is not uncommon to see system function tests that are not supported.

Make sure that the most current software is loaded.

Input:









HDS Inputs and Commands

Input:





HDS Inputs and Commands

Input:

















Function Test: