LEMON Manuals: Even more car manuals for everyone: 1960-2025
Home >> Honda >> 2009 >> Accord L4-2.4L >> Repair and Diagnosis >> Starting and Charging >> Starting System >> Ignition Switch >> Service and Repair >> Steering Lock Replacement
April 5, 2026: LEMON Manuals is launched! Read the announcement.

Steering Lock Replacement




Steering Lock Replacement

1. Remove the steering column. Steering Column Removal and Installation

2. Center-punch both of the two shear bolts, and drill their heads off with a 5 mm (3/16 in.) drill bit. Be careful not to damage the switch body when removing the shear bolts.

3. Remove the shear bolts from the switch body.

4. Install the switch body without the key inserted.

5. Loosely tighten the new shear bolts.

6. Insert the ignition key, and check for proper operation of the steering wheel lock and that the ignition key turns freely.






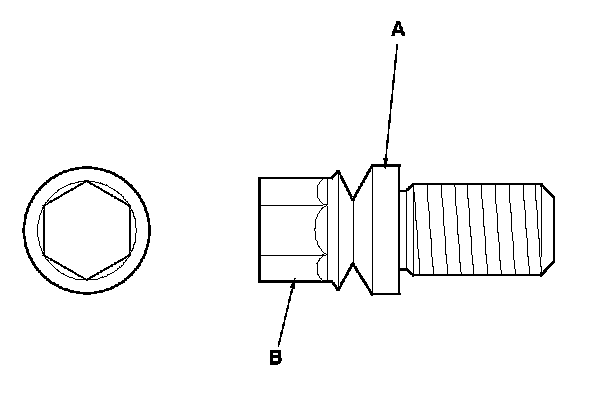
7. Tighten the shear bolts (A) until the hex heads (B) twist off.

8. Rewrite the new immobilizer control unit-receiver Programming and Relearning, and make sure the immobilizer system works properly.

9. Install the steering column. Steering Column Removal and Installation