LEMON Manuals: Even more car manuals for everyone: 1960-2025
Home >> Honda >> 2009 >> Civic L4-1.8L CNG >> Repair and Diagnosis >> Maintenance >> Alignment >> Service and Repair
April 5, 2026: LEMON Manuals is launched! Read the announcement.

Alignment: Service and Repair




Wheel Alignment

The suspension can be adjusted for front camber, front toe, and rear toe. However, each of these adjustments are related to each other. For example, when you adjust camber, the toe will change. Therefore, you must adjust the front wheel alignment whenever you adjust camber or toe.

Pre-Alignment Checks

For proper inspection and adjustment of the wheel alignment, do these checks:

1. Release the parking brake to avoid an incorrect measurement.

2. Make sure the suspension is not modified.

3. Make sure the fuel tank is full, and that the spare tire, the jack, and the tools are in place on the vehicle.

4. Check the tire size and tire pressure.









5. Check the runout of the wheels and tires. Testing and Inspection

6. Check the suspension ball joints (Hold a tire with your hands, and move it up and down and right and left to check for movement).

7. Before doing alignment inspections, be sure to remove all extra weight from the vehicle, and no one should be inside the vehicle (driver or passengers).

8. Bounce the vehicle up and down several times to stabilize the suspension.

9. Check that the steering column is set at the center tilt and telescopic position.






Caster Inspection

Use commercially available computerized four wheel alignment equipment to measure wheel alignment (caster, camber, toe, and turning angle). Follow the equipment manufacturer's instructions.

1. Check the caster angle.





- If the measurement is within specifications, measure the camber angle.

- If the measurement is not within specifications, check for bent or damaged suspension components.

Camber Inspection

Use commercially available computerized four wheel alignment equipment to measure wheel alignment (caster, camber, toe, and turning angle). Follow the equipment manufacturer's instructions.

1. Check the camber angle.
NOTE: There are two types of rear upper arms: those that are marked with "C" (A), and those with no marks. Be sure to use the correct alignment specifications.

- If the measurement is within specification, measure the toe-in.

- If the measurement for the front camber is outside the specification, go to front camber adjustment.

- If the measurement for the rear camber is outside the specification, check for bent or damaged suspension components.










Front Camber Adjustment

The front camber can be adjusted by exchanging one or both of the damper pinch bolts with a smaller diameter adjusting bolt. The difference between the adjusting bolt diameter and the pinch bolt hole diameter allows for a small range of adjustment.






1. Raise the front of the vehicle, and support it with safety stands in the proper locations. Service and Repair

2. Remove the front wheels.

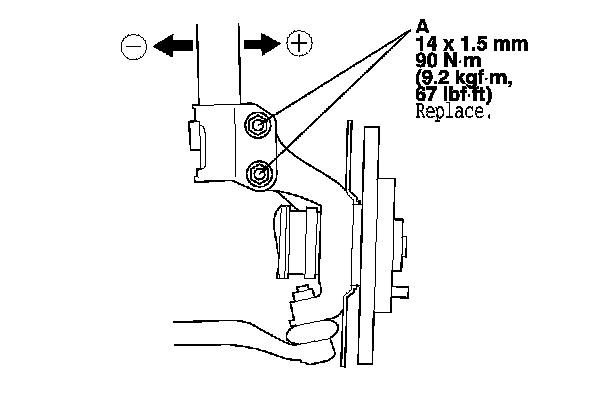
3. Loosen the damper pinch bolts (A), and adjust the camber angle by moving the bottom of the damper within the range of the damper pinch bolt free play.

4. Tighten the damper pinch bolts to the specified torque.

5. Clean the mating surfaces of the brake disc and the inside of the wheel, then install the front wheels.

6. Lower the vehicle to the ground, and bounce the front of the vehicle up and down several times to stabilize the suspension.

7. Measure the camber angle.
- If the measurement is within specification, measure the toe-in.

- If the measurement is not within specification, go to step 8.

8. Raise the front of the vehicle, and support it with safety stands in the proper locations. Service and Repair

9. Remove the front wheels.






10. Replace the damper pinch bolts with the adjusting bolts (A), and adjust the camber angle.
NOTE:

- Install the washers (B) included with the adjusting bolt set between the front damper and self-locking nut.

- The camber angle can be adjusted up to ±25 ' (center of tolerance) by replacing one damper pinch bolt with the adjusting bolt.

- The camber angle can be adjusted up to 50 ' by replacing both damper pinch bolts with the adjusting bolts.

11. Tighten the adjusting bolts to the specified torque value.

12. Clean the mating surfaces of the brake disc and the inside of the wheel, then install the front wheels.

13. Lower the vehicle to the ground, and bounce the front of the vehicle up and down several times to stabilize the suspension.

14. Measure the camber angle. If the camber angle is not within specification, repeat step 8 through 13 to readjust the camber angle. If the camber measurement is correct, measure toe-in, and adjust it if necessary.






Front Toe Inspection/Adjustment

Use commercially available computerized four wheel alignment equipment to measure wheel alignment (caster, camber, toe, and turning angle). Follow the equipment manufacturer's instructions.

1. Set the steering column to the middle tilt and center telescopic positions. Center the steering wheel spokes, and install a steering wheel holder tool.

2. Check the toe with the wheels pointed straight ahead.





- If adjustment is required, go to step 3.

- If no adjustment is required, go to rear toe inspection/adjustment.

3. Loosen the tie-rod locknuts (A) while holding the flat surface sections (B) of the tie-rod end with a wrench, and turn both tie-rods (C) until the front toe is within specifications.

4. After adjusting, tighten the tie-rod locknuts to the specified torque value. Reposition the rack-end boot if it is twisted or displaced.

5. Go to rear toe inspection/adjustment.






Rear Toe Inspection/Adjustment

Use commercially available computerized four wheel alignment equipment to measure wheel alignment (caster, camber, toe, and turning angle). Follow the equipment manufacturer's instructions.

1. Release the parking brake to avoid an incorrect measurement.

2. Check the toe.





- If adjustment is required, go to step 3.

- If no adjustment is required, go to turning angle inspection.

3. Hold the adjusting bolt (A) on the trailing arm (B), and loosen the self-locking nut (C).

4. Replace the self-locking nut with a new one, and lightly tighten it.
NOTE:

- Always use a new self-locking nut whenever it has been tightened to the specified torque.

- Reassemble the adjusting bolt and the adjusting cam plate with the eccentric facing up.

5. Adjust the rear toe by turning the adjusting bolt until the toe is correct.

6. Tighten the self-locking nut to the specified torque value while holding the adjusting bolt.






Turning Angle Inspection

Use commercially available computerized four wheel alignment equipment to measure wheel alignment (caster, camber, toe, and turning angle). Follow the equipment manufacturer's instructions.

1. Turn the wheel right and left while applying the brakes, and measure the turning angle of both wheels.





2. If the measurement is not within the specifications, even up both sides of the tie-rod threaded section length while adjusting the front toe. If it is correct, but the turning angle is not within the specifications, check for bent or damaged suspension components.