LEMON Manuals: Even more car manuals for everyone: 1960-2025
Home >> Honda >> 2009 >> Civic L4-1.8L >> Repair and Diagnosis >> Powertrain Management >> Computers and Control Systems >> Information Bus >> Description and Operation >> System Description
April 5, 2026: LEMON Manuals is launched! Read the announcement.

System Description




Multiplex Integrated Control System Description

MICU Control Functions Index

The MICU (built into the under-dash fuse/relay box) is one of the B-CAN components. The MICU controls many systems related to the body controller area and a security system, and also works as a gateway to diagnose the other B-CAN connected ECUs with the HDS.

Refer to each system circuit diagram for details.





The MICU also controls the function of these circuits:

- Entry lights control (map lights and ceiling light)

- Exterior lights control (including the daytime running lights control)

- Horn

- Interlock system

- Key-in reminder

- Keyless entry

- Lights-on reminder

- Power door locks

- Power window key-off timer

- Seat belt reminder

- Security alarm

- Turn signal/hazard warning

- Wiper/washer

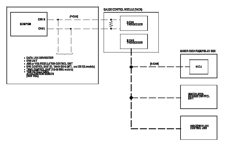
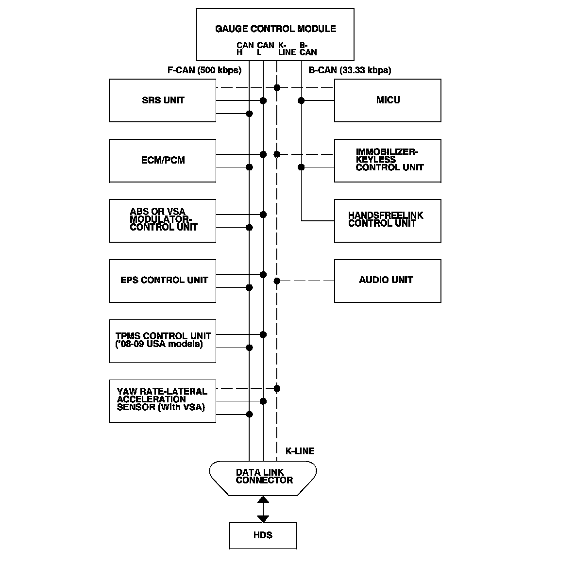
Body Controller Area Network (B-CAN) and Fast Controller Area Network (F-CAN)

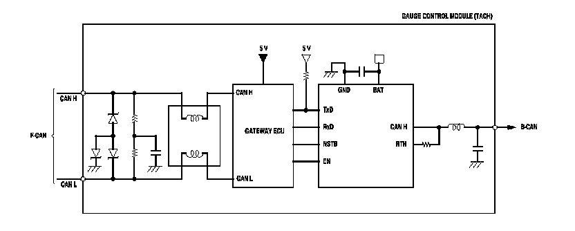
The body controller area network (B-CAN) and the fast controller area network (F-CAN) share information between multiple electronic control units (ECUs). B-CAN communication moves at a slower speed (33.33 kbps) for convenience related items and for other functions. F-CAN information moves at a faster speed (500 kbps) for "real time" functions such as fuel and emissions data. To allow both systems to share information, the gauge control module translates information from B-CAN to F-CAN and from F-CAN to B-CAN.






- The single wire method is used between the units not requiring the communication to move at a fast speed.

- Using a single wire method reduces the number of the wires used on the body controller area network.

Gateway Function

The gauge control module (tach) acts as a gateway to allow both systems to share information, the gauge control module translates information from B-CAN to F-CAN and from F-CAN to B-CAN.






Network "Loss of Communication" Error Checking Function

The ECUs on the CAN circuit send messages to each other. If there are any malfunctions on the network, the odo/trip display on the gauge control module can indicate the error messages by entering the gauge self-diagnostic function. Initial Inspection and Diagnostic Overview

4-door Error Code List





2-door Error Code List





NOTE: For further information about Error indication, refer to the gauge control module self-diagnostic function. Initial Inspection and Diagnostic Overview






Self-diagnostic Function

By connecting the HDS to the data link connector (DLC), the HDS can retrieve the diagnostic results from the MICU via a diagnostic line called K-LINE. The K-LINE is distinguished from the CAN line, and connected to the CAN related ECUs. The MICU is a gateway between the HDS and B-CAN related ECUs, and sends B-CAN diagnostic results to the HDS. When doing a function test with the HDS, the HDS sends an output signal through the K-LINE to the MICU. The MICU either relays the request to another ECU, or commands the function its self.






Wake-up and Sleep Function

The multiplex integrated control system has wake-up and sleep functions to decrease parasitic draw on the battery when the ignition switch is in LOCK (0).

- In the sleep mode, the MICU stops functioning (communication and CPU control) when it is not necessary for the system to operate.

- As soon as any operation is requested (for example, a door is unlocked), the related control unit in the sleep mode immediately wakes up and begins to function.

- When the ignition switch is turned to LOCK (0), and the driver's door is opened, then closed, there is a delay of about 40 seconds before the control unit goes from the wake-up mode to the sleep mode.

- The sleep mode will not function if any door is opened or if a key is in the ignition.

- The draw is reduced from 200 mA to less than 35 mA when in the sleep mode.

NOTE: Sleep and Wake-up Mode Test. Multiplex Integrated Control System Sleep and Wake-up Mode Test

Fail-safe Function

To prevent improper operation, the MICU has a fail-safe function. In the fail-safe mode, the output signal is fixed when any part of the system malfunctions (for example, a faulty control unit or communication line).

Each control unit has a hardware fail-safe function that fixes the output signal when there is a CPU malfunction, and a software fail-safe function that ignores the signal from a malfunctioning control unit , which allows the system to operate normally.

Hardware Fail-safe Control

Fail-safe function

When a CPU problem or a abnormal power supply voltage is detected, the MICU moves to the hardware fail-safe mode, and each system output load is set to the pre-programmed fail-safe value.

Software Fail-safe Control

When any of the data from the B-CAN circuit cannot be received within a specified time, or an unusual combination of the data is recognized, the MICU moves to the software fail-safe mode. The data that cannot be received is forced to a pre-programmed value.

Power Supply Voltage Monitoring Function

The MICU monitors the power supply voltage (back-up voltage). If the voltage goes below 10 V, the MICU sends a MICU message and will not store DTCs.





Entry Lights Control System

The MICU controls the ceiling light ON/OFF and dimming based upon input signals from each switch.





Lighting System (Headlights, Parking Lights, Fog Lights, Side Marker Lights, License Plate Lights, and Taillights)

The MICU contains the relay circuits of the headlight high/low beam and taillights, and controls the lighting system ON/OFF based upon input signals from the combination light switch.





Daytime Running Lights

The MICU controls the exterior lights as a daytime running lights based upon input signals from each switch.





Turn Signal/Hazard Warning

The MICU controls the turn signal/hazard warning based upon input signals from the turn signal and hazard warning switches.





Power Door Locks (Vehicle Speed Sense)

The MICU controls the door lock actuators based upon B-CAN signals and input signals from each switch.





Power Door Locks (Normally LOCK/UNLOCK Operation)

The MICU controls the door lock actuators based upon input signals from each switch.





Door Lock Response Operation

The MICU controls the door lock actuators based upon B-CAN signals.





Power Window Key-off Operation

The MICU controls the power windows key-off operation based upon input signals from each switch.





Keyless Entry System

The MICU controls the door lock actuators based upon B-CAN signals and input signals from each switch.





Keyless PANIC Function

The MICU controls the keyless PANIC function based upon B-CAN signals.





Security Alarm System

The MICU controls the lighting system and horn based upon B-CAN signals and input signals from each switch.





Key-in Reminder

The MICU controls the door lock actuators based upon ignition key switch, driver's door switch, and driver's door lock knob switch signals.





Key Interlock (A/T)

The MICU controls the key interlock solenoid based upon IG1, transmission range switch, and park-pin switch signals.





Answer Back Response Operation

The MICU controls the lighting system and horn based upon B-CAN signals.





Wiper/Washer

The MICU controls the wiper motor and the washer motor based upon IG1 and wiper/washer switch signals.





Collision Detection Signal (CDS)

The MICU controls the door lock actuators based upon IG1 and B-CAN signals.





HDS Inputs and Commands

Certain inputs happen so quickly that the HDS cannot update fast enough. Hold the switch that is being tested while monitoring the Data List. This should give the HDS time to update the signal on the Data List.

Because the HDS software is updated to support the release for newer vehicles it is not uncommon to see system function tests that are not supported.

Make sure that the most current software is loaded.

Input:

























Function Test: