LEMON Manuals: Even more car manuals for everyone: 1960-2025
Home >> Honda >> 2009 >> Civic L4-1.8L >> Repair and Diagnosis >> Relays and Modules >> Relays and Modules - Accessories and Optional Equipment >> Navigation Module >> Service and Repair
April 5, 2026: LEMON Manuals is launched! Read the announcement.

Navigation Module: Service and Repair




Navigation Unit Removal/Installation

SRS components are located in this area. Review the SRS component location, 4-door, SRS Component Location Index (4-Door) 2-door. SRS Component Location Index (2-Door)

Also review the precautions and procedures Technician Safety Information in the SRS section before doing repairs or service.

NOTE:

- Put on gloves to protect your hands.

- Take care not to scratch the dashboard and related parts.

- Lay a workshop towel under the parts when working on them to protect the face panel from scratches or other damage.

- Do not work in a dusty or dirty place.

- Discharge static electricity from your body before and during the work.

- Do not touch the circuit board(s) with your bare hands.

- Do not work with dirty hands.

- Be careful not to fold the flat plate cable.

- Do not touch the terminal connector of the flat plate cable with your bare hands. (If you have touched it, wipe it off thoroughly.)

- Before replacing the navigation unit, make sure to remove the customer's navigation DVD, and their audio CD, or PC card. Remanufactured navigation units do not come with a navigation DVD. Re-install the customer's navigation DVD, audio CD, and audio PC card into the new Remanufactured unit. If the navigation display won't open, manually remove the navigation DVD, audio CD, and PC card. CD, DVD, and PC Card Removal/Installation (With Navigation)

- If you are replacing the navigation unit, write down the audio presets (if possible), then enter them into the new navigation unit.

1. Make sure you have the 4-digit anti-theft code for the navigation system.

2. Eject the DVD from the original navigation unit. To avoid scratching or damaging the DVD, temporarily place the DVD in a jewel case.

3. Remove the subdisplay visor. Subdisplay Visor Removal/Installation

4. Remove the center pocket hole lid and bolts, then pull out the center panel (A).

5. Disconnect the connectors (B), then remove the center panel.






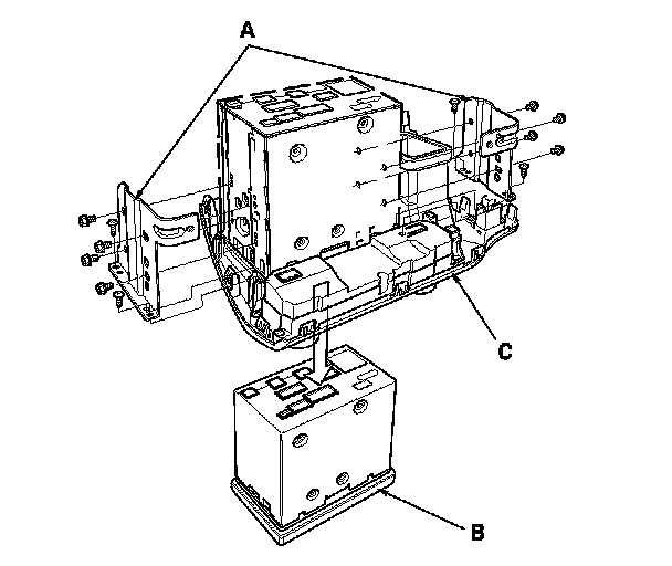
6. Remove the screws, brackets (A), and the navigation unit (B) from the center panel (C).

7. Install the navigation unit in the reverse order of removal, and make sure all connectors are secure.

8. Turn the ignition switch to ON (II), then reinstall the customer's original DVD, verifying that the DVD is free of scratches or smudges.

9. Check any official Honda service website for more service information about the navigation system.
NOTE: Simply transferring the DVD from the original navigation unit to the new navigation unit does not assure the correct software for the vehicle is loaded into the new navigation unit. Doing the DVD transfer without applying software patches may cause the new navigation unit to appear to be malfunctioning.

10. Enter the new navigation anti-theft code.

11. Park the vehicle outside, and do the GPS initialization. How to Troubleshoot The Navigation System (With Navigation)

12. Give the new navigation anti-theft code to the customer.