LEMON Manuals: Even more car manuals for everyone: 1960-2025
Home >> Honda >> 2009 >> Element 2WD L4-2.4L >> Repair and Diagnosis >> Diagrams >> Connector Views >> Auxiliary Input / Output Jack, Entertainment System >> USB Jack Replacement
April 5, 2026: LEMON Manuals is launched! Read the announcement.

USB Jack Replacement




USB Jack Replacement

1. Open the glove box. Remove the glove box stop on each side, then hang the glove box down. Service and Repair

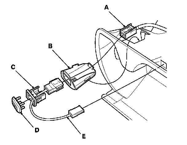
2. Disconnect the connector (A) and remove the cover (B).

3. Remove the USB jack (C) from the cover, then remove the cap (D), and the USB adapter cable (E) from the USB jack.

4. Install the USB jack in the reverse order of removal.