LEMON Manuals: Even more car manuals for everyone: 1960-2025
Home >> Honda >> 2009 >> Element 2WD L4-2.4L >> Repair and Diagnosis >> Specifications >> Mechanical Specifications >> Engine >> System Specifications >> Tightening Torques and Sequences
April 5, 2026: LEMON Manuals is launched! Read the announcement.

Tightening Torques and Sequences

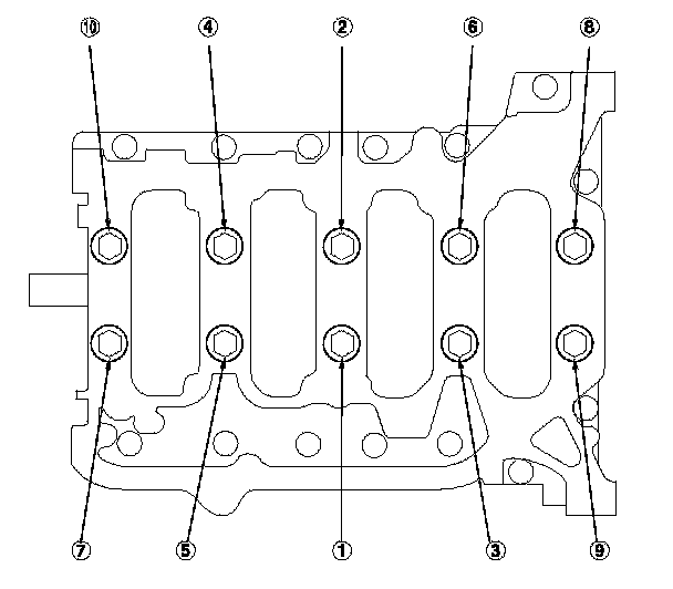
Cylinder Head

Tighten the cylinder head bolts in sequence to 39 N-m (4.0 kgf-m, 29 lbf-ft).





After torquing, tighten all cylinder head bolts in two steps 90 ° per step
If you are using a new cylinder head bolt, tighten the bolt an extra 90 °.






Head Bolt Reuse/Replace

If either diameter is less than 10.6 mm (0.42 in.), replace the cylinder head bolt.






Intake Manifold

Torque the bolts/nuts in a crisscross pattern in three steps, beginning with the inner bolt.






Camshaft Bearing Cap

Tighten the bolts in the specified sequence.

NOTE: If the engine does not have bolt 21, skip it and continue the tighten sequence.






Main Bearing Cap

Tighten the bearing cap bolts in sequence, to 29 N-m (3.0 kgf-m, 22 lbf-ft).






Tighten the bearing cap bolts an additional 56 °.






Tighten the 8 mm bolts in sequence to N-m (2.2 kgf-m, 16 lbf-ft).






Rod Bearing Cap

Tighten the connecting rod bolts to 20 N-m (2.0 kgf-m, 14 lbf-ft).

Tighten the connecting rod bolts an additional 90 °.






Crankshaft Pulley

Tighten the bolt to 50 N-m (5.0 kgf-m, 37 lbf-ft).
If the pulley bolt or crankshaft are new, tighten the bolt to 177 N-m (18.0 kgf-m, 130 lbf-ft), then remove the bolt and tighten it to 49 N-m (5.0 kgf-m, 36 lbf-ft).






Then tighten the bolt an additional 90 °






Flywheel

Torque the flywheel mounting bolts (B) in a crisscross pattern in several steps.






Drive Plate

Tighten the eight bolts in a crisscross pattern in two or more steps.






Oil Pump









Exhaust Manifold

Torque the bolts/nuts in a crisscross pattern in two or three steps, beginning with the inner bolt.






Water Pump