LEMON Manuals: Even more car manuals for everyone: 1960-2025
Home >> Honda >> 2009 >> Element 2WD L4-2.4L >> Repair and Diagnosis >> Transmission and Drivetrain >> Automatic Transmission/Transaxle >> Description and Operation >> A/T System Description - Electronic Control System (A/T)
April 5, 2026: LEMON Manuals is launched! Read the announcement.

A/T System Description - Electronic Control System (A/T)




A/T System Description - Electronic Control System

Electronic Control System

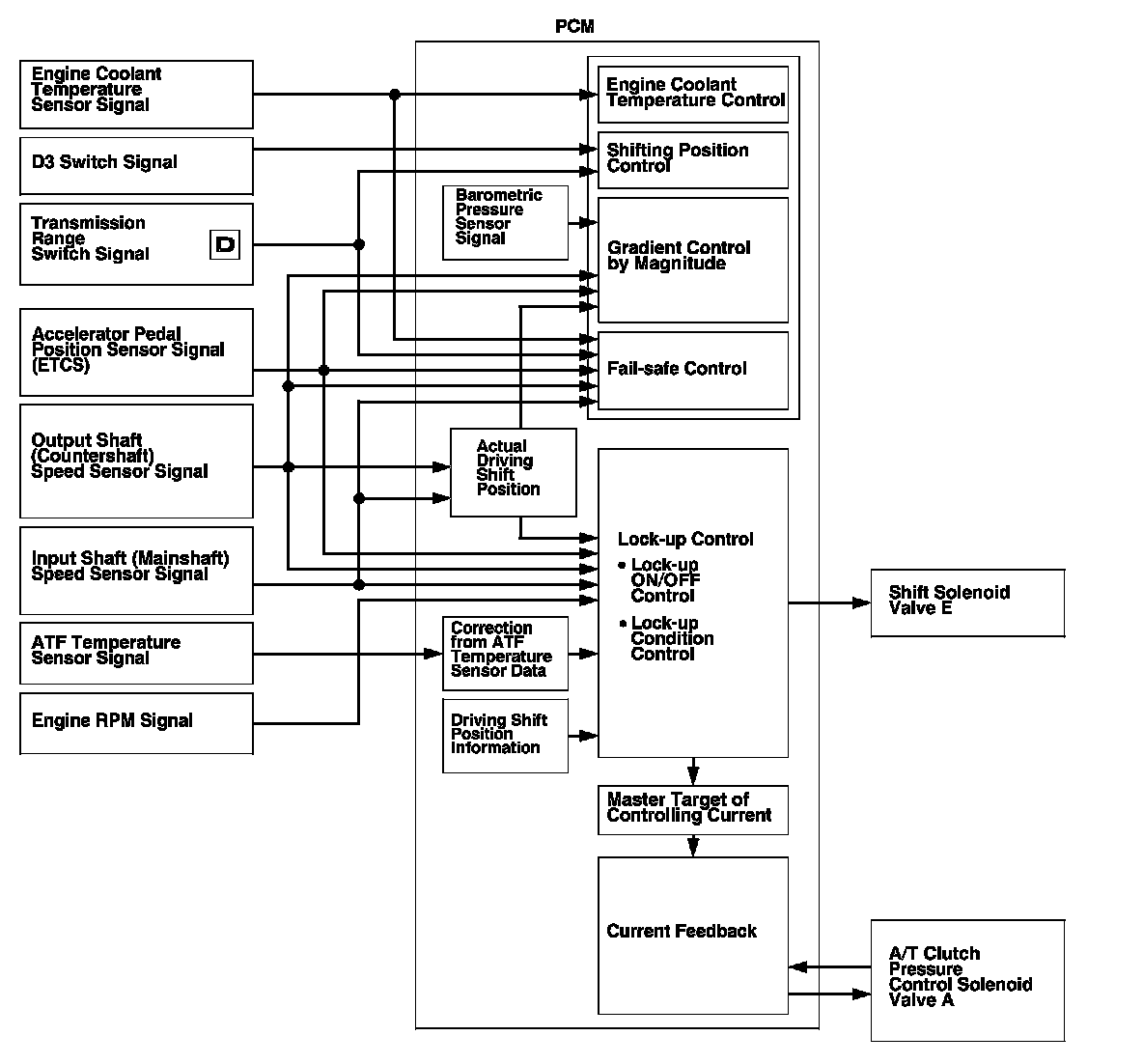
Functional Diagram

The electronic control system consists of the powertrain control module (PCM), sensors, and solenoid valves.

Shifting and lock-up are electronically controlled for comfortable driving under all conditions.

The PCM receives input signals from sensors, switches, and other control units, processes data, and outputs signals for the engine control system and the A/T control system. The A/T control system includes shift control, grade logic control, clutch pressure control, and lock-up control.

The PCM switches the shift solenoid valves and the A/T clutch pressure control solenoid valves ON and OFF to control gear selection and torque converter clutch look-up.






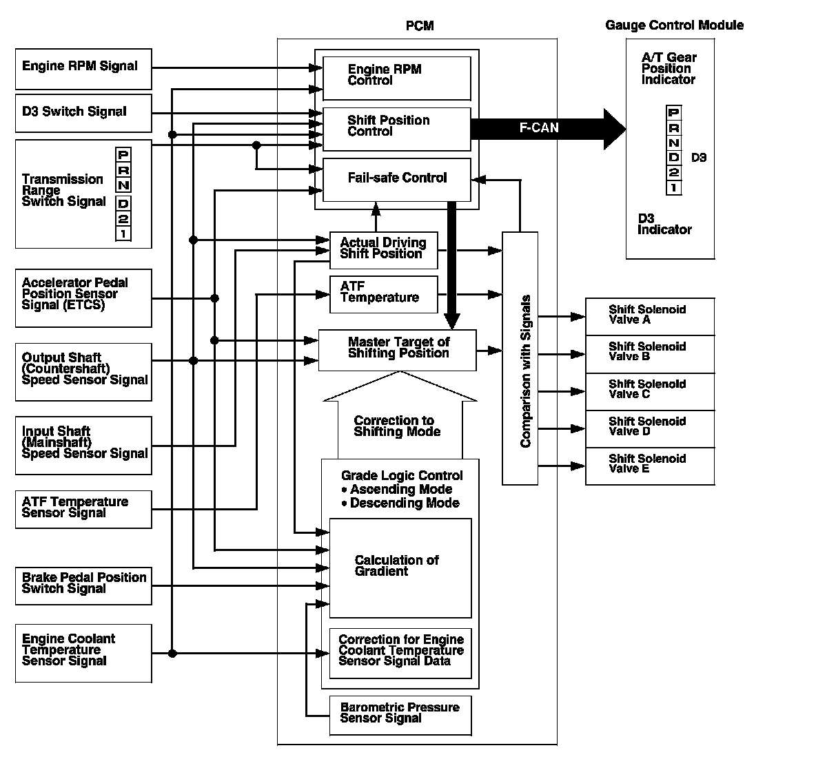
Shift Control

The PCM instantly determines which gears should be selected by various signals sent from sensors and switches, and it actuates shift solenoid valves A, B, C, D, and E to control gear selection.

A grade logic control system has been adopted to control shifting in D. The PCM compares actual driving conditions with programmed driving conditions, based on the input from the accelerator pedal position sensor, the engine coolant temperature sensor, the barometric pressure sensor, the brake pedal position switch signal, the output shaft (countershaft) speed sensor signal, and the shift lever position signal, to control shifting while the vehicle is ascending or descending a slope.






Electronic Control System (cont'd)

The PCM turns shift solenoid valves A, B, C, D, and E ON and OFF to control gear selection. The combination of commands to shift solenoid valves A, B, C, D, and E are in the following table.





Grade Logic Control: Ascending Control

When the PCM determines that the vehicle is climbing a hill in D, the system extends the engagement area of 2nd, 3rd, and 4th gears to prevent the transmission from frequently shifting between 2nd and 3rd gears, between 3rd and 4th gears, and between 4th and 5th gears. The PCM does this so the vehicle can run smoothly and have more power when needed.

NOTE: Shift commands stored in the PCM between 2nd and 3rd gears, between 3rd and 4th gears, and between 4th and 5th gears, enable it to automatically select the most suitable gear according to the magnitude of a gradient.






Grade Logic Control: Descending Control

When the PCM determines that the vehicle is going down a hill in D, the upshift speed from 4th to 5th gear, from 3rd to 4th gear, and from 2nd to 3rd gear (when the throttle is closed) becomes higher than the set speed for flat road driving to extend 4th gear, 3rd gear, and the 2nd gear driving area. This, in combination with engine braking from the deceleration lock-up, achieves smooth driving when the vehicle is descending. There are three descending modes with different 4th gear driving areas, 3rd gear driving areas, and 2nd gear driving areas according to the magnitude of a gradient stored in the PCM. When the vehicle is in 5th gear or 4th gear, and you are decelerating while applying the brakes on a steep hill, the transmission will downshift to a lower gear. When you accelerate, the transmission will then return to a higher gear.






Electronic Control System (cont'd)

Clutch Pressure Control

The PCM actuates A/T clutch pressure control solenoid valves A, B, and C to control the clutch pressure. When shifting between lower and higher gears, the clutch pressure regulated by A/T clutch pressure control solenoid valves A, B, and C engages and disengages the clutch smoothly.

The PCM receives input signals from the various sensors and switches, processes data, and outputs current to A/T clutch pressure control solenoid valves A, B, and C.






Lock-up Control

Shift solenoid valve E controls the hydraulic pressure to switch the lock-up shift valve and lock-up ON and OFF.

When the PCM actuates shift solenoid valve E and A/T clutch pressure control solenoid valve A to initiate look-up. A/T clutch pressure control solenoid valve A regulates and applies hydraulic pressure to the lock-up control valve to control the amount of the lock-up. The lock-up mechanism operates in D (2nd, 3rd, 4th, and 5th gears), and in D3 (2nd and 3rd gears).






Electronic Control System (cont'd)

Self-diagnosis

If the PCM detects the failure of a signal from a sensor, a switch, a solenoid valve, or from another control unit, it stores a Temporary DTC or a DTC. Depending on the failure, a DTC is stored in either the first or the second drive cycle. When a DTC is stored, the PCM blinks the D indicator and/or turns on the malfunction indicator lamp (MIL) by a signal sent to the gauge control module via F-CAN.

- One Drive Cycle Detection Method
When an abnormality occurs in the signal from a sensor, a switch, a solenoid valve, or from another control unit, the PCM stores a DTC for the failure and blinks the D indicator and/or turns on the MIL immediately.

- Two Drive Cycle Detection Method
When an abnormality occurs in the signal from a sensor, a switch, a solenoid valve, or from another control unit in the first drive cycle, the PCM stores a Temporary DTC. The D indicator and the MIL do not turns on at this time. If the failure continues in the second drive cycle, the PCM stores a DTC and blinks the D indicator and/or turns on the MIL.

Fail-safe Function

When an abnormality occurs in the signal from a sensor, a switch, a solenoid valve, or from another control unit, the PCM ignores that signal and substitutes a pre-programmed value for them that allow the automatic transmission to continue operation. This causes a DTC to be stored and the D indicator to blink and/or the MIL to come on.

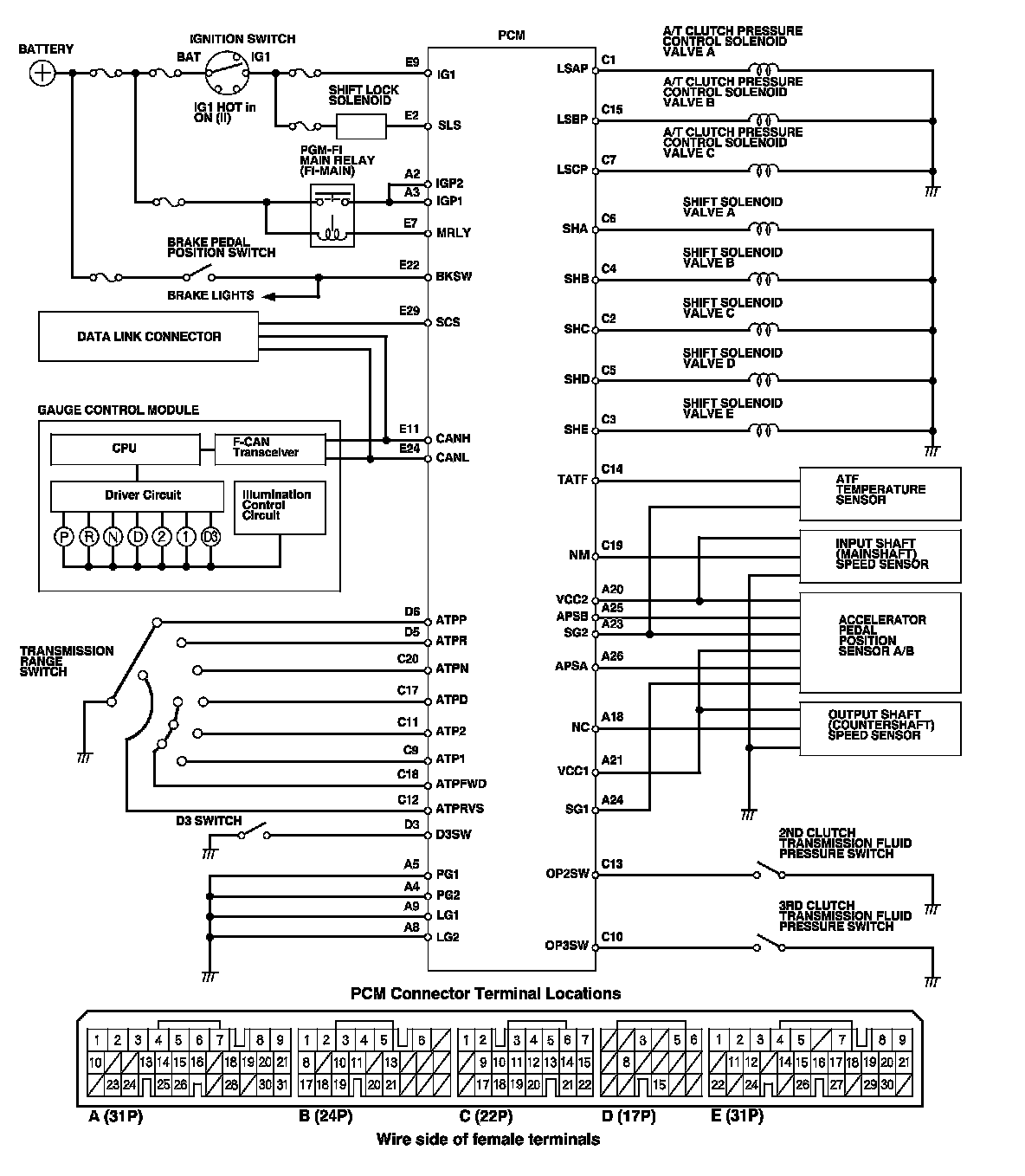
PCM A/T Control System Electrical Connections





Electronic Control System (cont'd)

PCM A/T Control System Inputs and Output





NOTE: Standard battery voltage is about 12 V.

PCM CONNECTOR A (31P)





PCM CONNECTOR C (22P)





Electronic Control System (cont'd)

PCM A/T Control System Inputs and Output (cont'd)





NOTE: Standard battery voltage is about 12 V.

PCM CONNECTOR C (22P)





PCM CONNECTOR D (17P)





PCM CONNECTOR E (31P)