LEMON Manuals: Even more car manuals for everyone: 1960-2025
Home >> Honda >> 2009 >> Element 2WD L4-2.4L >> Repair and Diagnosis >> Windows and Glass >> Locations
April 5, 2026: LEMON Manuals is launched! Read the announcement.

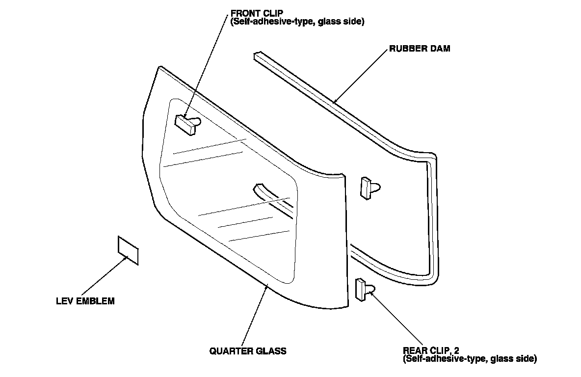
Windows and Glass: Locations




Glass Component Location Index