LEMON Manuals: Even more car manuals for everyone: 1960-2025
Home >> Honda >> 2009 >> Element 4WD L4-2.4L >> Repair and Diagnosis >> Lighting and Horns >> Testing and Inspection >> Combination Light Switch Test/Replacement
April 5, 2026: LEMON Manuals is launched! Read the announcement.

Combination Light Switch Test/Replacement




Combination Light Switch Test/Replacement

1. Remove the dashboard lower cover. Drivers Dashboard Lower Cover Removal/Installation

2. Remove the steering column covers. Service and Repair

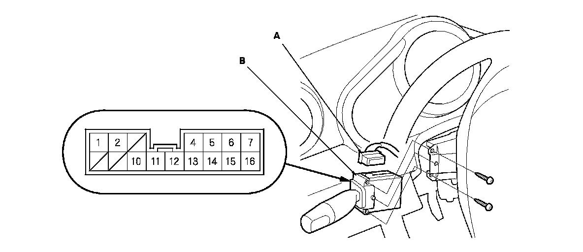
3. Disconnect the 16P connector (A) from the combination light switch (B).

4. Remove the two screws, then slide out the combination light switch.






5. Inspect the connector terminals to be sure they are all making good contact.
- If the terminals are bent, loose or corroded, repair them as necessary, and recheck the system.

- If the terminals look OK, check for continuity between the terminals in each switch position according to the tables.
- If the continuity is not as specified, replace the switch.