LEMON Manuals: Even more car manuals for everyone: 1960-2025
Home >> Honda >> 2009 >> Element 4WD L4-2.4L >> Repair and Diagnosis >> Specifications >> Mechanical Specifications >> Engine >> Timing Components >> System Specifications
April 5, 2026: LEMON Manuals is launched! Read the announcement.

System Specifications

Auto-tensioner






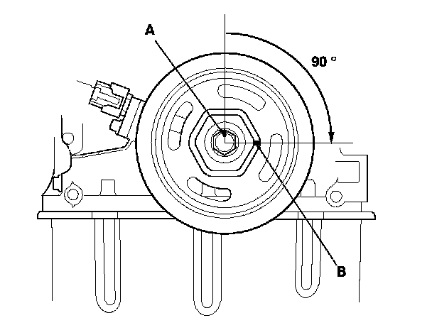
Crankshaft Pulley

Tighten the bolt to 50 N-m (5.0 kgf-m, 37 lbf-ft).
If the pulley bolt or crankshaft are new, tighten the bolt to 177 N-m (18.0 kgf-m, 130 lbf-ft), then remove the bolt and tighten it to 49 N-m (5.0 kgf-m, 36 lbf-ft).






Then tighten the bolt an additional 90 °






Chain Case