LEMON Manuals: Even more car manuals for everyone: 1960-2025
Home >> Honda >> 2009 >> Element 4WD L4-2.4L >> Repair and Diagnosis >> Transmission and Drivetrain >> Manual Transmission/Transaxle >> Service and Repair >> Overhaul >> M/T Transfer >> M/T Transfer Assembly Reassembly (4WD, M/T)
April 5, 2026: LEMON Manuals is launched! Read the announcement.

M/T Transfer Assembly Reassembly (4WD, M/T)




M/T Transfer Assembly Reassembly

Special Tools Required

- Holder handle 07JAB-001020B
- Oil seal driver attachment, 58 mm 07JAD-PH80101
- Companion flange holder 07RAB-TB4010A or 07RAB-TB4010B
- Bearing driver attachment, 72 x 75 mm 07746-0010600
- Inner driver handle, 40 mm 07746-0030100
- Inner bearing driver attachment, 35 mm 07746-0030400
- Driver handle, 15 x 135L 07749-0010000
NOTE:

- While reassembling the transfer assembly:
- Check and adjust the transfer gear tooth contact.

- Measure and adjust the transfer gear backlash.

- Check and adjust the tapered roller bearing starting torque.

- Coat all parts with MTF during reassembly.

- Replace the tapered roller bearing and the tapered roller bearing outer race as a set if either part is replaced.

- Replace the transfer drive gear and the transfer output shaft as a set if either part is replaced.

Outline of Assembly

1. Select the 35 mm thrust shim. Do this procedure if the transfer output shaft or the tapered roller bearing on the transfer output shaft is replaced.

2. Preassemble the parts to check and adjust the transfer gear backlash and the transfer gear tooth contact.

3. Disassemble the parts, then assemble the transfer output shaft and its related parts.

4. Measure and adjust the starting torque of the transfer driven gear shaft tapered roller bearing.

5. Assemble the transfer shaft assembly and its related parts.

6. Measure and adjust the total starting torque.

35 mm Thrust Shim Selection

NOTE: Do not use more than one 35 mm thrust shim to adjust the transfer gear backlash.

1. Select the 35 mm thrust shim if the transfer output shaft is replaced. Calculate the thickness of the 35 mm thrust shim using the formula, and select the replacement 35 mm thrust shim from the table.
NOTE: The number on the transfer output shaft is shown in 1/100 mm.

35 mm Thrust Shim





2. Select the 35 mm thrust shim if the tapered roller bearing on the transfer output shaft is replaced. Measure the thickness of the replacement bearing and the existing bearing, and calculate the difference of the bearing thickness. Adjust the thickness of the existing 35 mm thrust shim by the amount of the difference in bearing thickness, and select the replacement 35 mm thrust shim from the table.






Example:





Transfer Gear Backlash Inspection and Transfer Gear Tooth Contact Inspection

3. Install the 35 mm thrust shim (A) on the transfer output shaft (B), then install the 62 mm tapered roller bearing (C) using the 40 mm inner driver handle (D), the 35 mm inner bearing driver attachment (E), and a press.






4. Install the 50.3 mm tapered roller bearing (A) in the transfer housing.

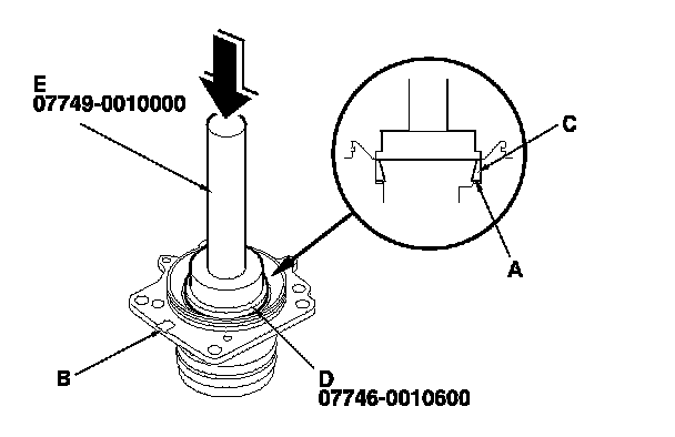
5. Install a new oil seal (B) in the transfer housing using the 58 mm oil seal driver attachment (C) and the 15 x 135L driver handle (D).
NOTE: Install the oil seal in the direction shown.






6. Install the transfer output shaft (A) in the transfer housing (B).
NOTE: Do not install the transfer spacer in this step.






7. Install the companion flange (A), a new conical spring washer (B), and a new locknut (C) on the transfer output shaft (D).
NOTE:

- Do not install the O-ring and the back-up ring in this step.

- Install the conical spring washer in the direction shown.

- Coat the threads of the locknut and the shaft with MTF before installing the locknut.





8. Securely clamp the transfer housing (A) in a bench vise (B) with wood blocks. Then install the holder handle (C) and the companion flange holder (D) on the companion flange.

9. Tighten the locknut while measuring the starting torque so the starting torque is within 0.98-1.39 N-m (10.0-14.2 kgf-cm, 8.7-12.3 lbf-in.).
NOTE: Do not stake the locknut in this step.










10. Install the transfer shaft assembly (A) in the transfer holder (B), then install the transfer drive gear (C), the transfer collar (D), the 25 mm thrust shim (E), the 57 mm tapered roller bearing (F), a new conical spring washer (G), and a new transfer shaft locknut (H) on the transfer shaft assembly.
NOTE:

- Coat the threads of the locknut and the shaft with MTF before installing the locknut.

- Install the conical spring washer in the direction shown.





11. Hold the transfer shaft assembly (A) with a 14 mm hex wrench (B) clamped in a bench vise, and tighten the transfer shaft locknut.
NOTE: Do not stake the locknut in this step.





12. Apply Prussian Blue to both sides of the transfer drive gear teeth lightly and evenly.






13. Install the dowel pin (A) and the transfer holder assembly (B) in the transfer housing (C).
NOTE: Do not install the O-ring in this step.

14. Rotate the companion flange several times to seat the tapered roller bearings.






15. Set a dial indicator (A) on the companion flange (B), then measure the transfer gear backlash.










16. Remove the transfer holder, and check the transfer drive gear tooth contact pattern.

17. If the transfer drive gear tooth contact is incorrect, adjust the transfer gear tooth contact with a 25 mm or 35 mm thrust shim. If the gear tooth contact is correct, go to step 18.
NOTE: Do not use more than one of each thrust shim to adjust the transfer drive gear tooth contact.

- Toe Contact
Use a thinner 35 mm thrust shim to move the transfer output shaft away from the transfer drive gear. Because this movement causes the transfer gear backlash to change, move the transfer drive gear toward the transfer output shaft to adjust the transfer gear backlash as follows:
- Reduce the thickness of the 25 mm thrust shim.

- Increase the thickness of the 76 mm thrust shim by the amount you reduced the thickness of the 25 mm thrust shim.

- Heel Contact
Use a thicker 35 mm thrust shim to move the transfer output shaft toward the transfer drive gear. Because this movement causes the transfer gear backlash to change, move the transfer drive gear away from the transfer output shaft to adjust the transfer gear backlash as follows:
- Increase the thickness of the 25 mm thrust shim.

- Reduce the thickness of the 76 mm thrust shim by the amount you increased the thickness of the 25 mm thrust shim.

- Flank Contact
Use a thicker 25 mm thrust shim to move the transfer drive gear away from the transfer output shaft. Flank contact must be adjusted within the limits of the transfer gear backlash. If the backlash exceeds the limits, adjust as described under Heel Contact.

- Face Contact
Use a thinner 25 mm thrust shim to move the transfer drive gear toward the transfer output shaft. Face contact must be adjusted within the limits of the transfer gear backlash. If the backlash exceeds the limits, adjust as described under Toe Contact.

25 mm Thrust Shim





18. Measure the transfer gear backlash again.






19. Remove the transfer holder assembly (A) from the transfer housing (B).






20. Securely clamp the transfer housing (A) in a bench vise (B) with wood blocks.

21. Install the holder handle (C) and the companion flange holder (D) on the companion flange, then loosen the transfer output shaft locknut.






22. Remove the locknut (A), conical spring washer (B), and companion flange (C) from the transfer output shaft (D).

23. Remove the transfer output shaft from the transfer housing (E).






24. Install a new transfer spacer (A) on the transfer output shaft (B) in the direction shown, then install them in the transfer housing (C).






25. Install the companion flange (A), a new O-ring (B), the back-up ring (C), the conical spring washer (D), and the locknut (E) on the transfer output shaft (F).
NOTE:

- Coat the threads of the locknut, O-ring, and transfer output shaft with MTF before installing the locknut.

- Install the conical spring washer in the direction shown.





26. Securely clamp the transfer housing (A) in a bench vise (B) with wood blocks.

27. Install the holder handle (C) and the companion flange holder (D) on the companion flange, then tighten the transfer output shaft locknut while measuring the starting torque of the transfer output shaft.
NOTE:

- Rotate the companion flange several times to seat the tapered roller bearings, then measure the starting torque.

- If the starting torque exceeds 1.39 N-m (14.2 kgf-cm, 12.3 lbf-in.), replace the transfer spacer and reassemble the parts. Do not adjust the starting torque with the locknut loose.

- If the tightening torque exceeds 260 N-m (26.5 kgf-m, 192 lbf-ft), replace the transfer spacer and reassemble the parts.

- Write down the measurement of the starting torque, it is used to measure the total starting torque.





28. Remove the holder handle and the companion flange holder.






29. Stake the locknut into the transfer output shaft using a 3.5 mm punch.






30. Install the dowel pin (A) in the transfer housing (B), then install the transfer holder assembly (C).
NOTE: Do not install the O-ring in this step.






31. Securely clamp the transfer housing (A) in a bench vise (B) with wood blocks. Then rotate the companion flange several times to seat the tapered roller bearings.






32. Measure the total starting torque using the torque wrench (C).

Total Starting Torque:
1.30-2.47 N-m (13.3-25.2 kgf-cm, 11.5-21.9 lbf-in) + Transfer Driven Gear Shaft Starting Torque Value (written down in step I370).

33. Remove the transfer holder assembly from the transfer housing.

34. If the measurement is not within the standard, go to step 35.If the measurement is within the standard, go to step 47.

35. Hold the transfer shaft (A) with a 14 mm hex wrench (B) clamped in a bench vise, then loosen the locknut.






36. Remove the locknut (A) and the transfer shaft assembly (B) from the transfer holder (C).






37. Remove the 76.2 mm tapered roller bearing outer race (A) and the 76 mm thrust shim (B) from the transfer holder (C).

38. Measure the thickness of the removed 76 mm thrust shim, and select a new 76 mm thrust shim.

76 mm Thrust Shim














39. Install the selected 76 mm thrust shim (A) in the transfer holder (B).

40. Install the 76.2 mm tapered roller bearing outer race (C) using the 72 x 75 mm bearing driver attachment (D), the 15 x 135L driver handle (E), and a press in the direction shown.






41. Install the transfer shaft assembly (A), transfer drive gear (B), the transfer collar (C), the 25 mm thrust shim (D), the 57 mm tapered roller bearing (E), the conical spring washer (F), and the transfer shaft locknut (G) in the transfer holder (H).






42. Hold the transfer shaft assembly (A) with a 14 mm hex wrench (B) clamped in a bench vise, then tighten the transfer shaft locknut.
NOTE: Do not stake the locknut in this step.










43. Install the dowel pin (A) in the transfer housing (B), then install the transfer holder assembly (C).
NOTE: Do not install the O-ring in the step.

44. Rotate the companion flange several times to seat the tapered roller bearings.

45. Recheck and make sure the total starting torque is within the standard.

46. Remove the transfer holder assembly from the transfer housing.






47. Stake the locknut on the transfer shaft using a 3.5 mm punch.






48. Coat a new O-ring (A) with MTF, install it on the transfer holder assembly (B), then install the dowel pin (C) and the transfer holder assembly in the transfer housing (D).