LEMON Manuals: Even more car manuals for everyone: 1960-2025
Home >> Honda >> 2009 >> Element 4WD L4-2.4L >> Repair and Diagnosis >> Windows and Glass >> Windshield >> Service and Repair
April 5, 2026: LEMON Manuals is launched! Read the announcement.

Windshield: Service and Repair




Windshield Replacement

NOTE:

- Put on gloves to protect your hands.

- Wear eye protection while cutting the glass adhesive with piano wire.

- Use seat covers to avoid damaging any surfaces.

- Glass adhesive can be efficiently cut with a commercially available auto glass tool. See the tool manufacturer's instructions for details.

1. Remove these items:
- Rearview mirror Inside Rearview Mirror Replacement

- A-pillar trim, both sides Interior Trim Removal/Installation - A-Pillar Trim

- Windshield wiper arms Windshield Wiper Motor Replacement

- Windshield side trim, both sides Service and Repair

- Cowl covers Service and Repair

2. Remove the molding (A) from the edge of the windshield (B). If necessary, cut the molding with a utility knife.

3. Pull down the front portion of the headliner. Service and Repair Take care not to bend the headliner excessively, or you may crease or break it.

4. Apply protective tape along the edge of the dashboard and the body. Make a hole through the rubber dam, adhesive, and dashboard seal from inside the vehicle at a corner of the windshield with an awl. Push a piece of piano wire through the hole, and wrap each end around a piece of wood.






5. With a helper on the outside, pull the piano wire (A) back and forth in a sawing motion. Hold the piano wire as close to the windshield (B) as possible to prevent damage to the body or the dashboard.
Carefully cut through the rubber dam and adhesive (C) around the entire windshield.

6. Carefully remove the windshield.

7. Scrape smooth the old adhesive, with a putty knife or similar tool, until there is thickness of about 2 mm (0.08 in.) on the bonding surface around the entire windshield opening flange:
- Do not scrape down to the painted surface of the body; damaged paint will interfere with proper bonding.

- Remove the rubber dam and the fasteners from the body.

8. Clean the body bonding surface with a shop towel dampened in isopropyl alcohol. After cleaning, keep oil, grease and water from getting on the clean surface.

9. If you are reinstalling the old windshield, scrape off all of the old adhesive, the rubber dam, and the dashboard seal from the windshield with a putty knife. Clean the bonding surfaces on the inside face and the edge of the windshield with isopropyl alcohol. Make sure the bonding surface is kept free of water, oil, and grease.






Cutting positions





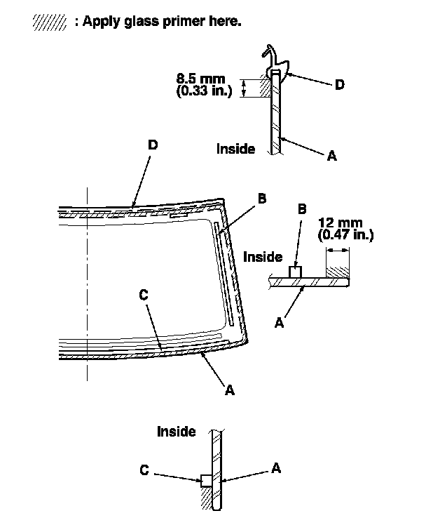
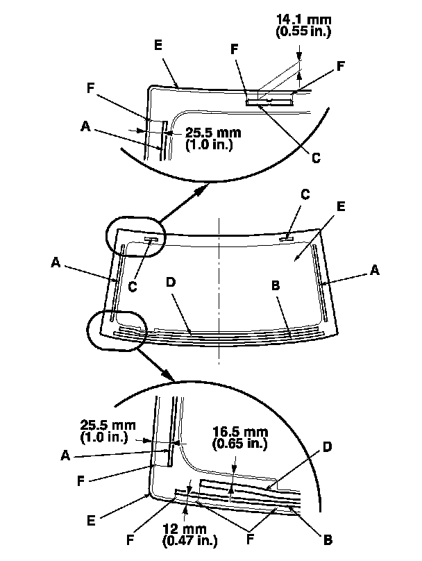
10. Attach the side rubber dam (A), the lower rubber dam (B), and the clips (C) to the windshield with adhesive tape. Attach the dashboard seal (D) to the inside face of the windshield (E) as shown:
- Be sure the side rubber dam, the lower rubber dam, and the dashboard seal line up with the alignment marks (F).

- Be careful not to touch the windshield where adhesive is applied.


















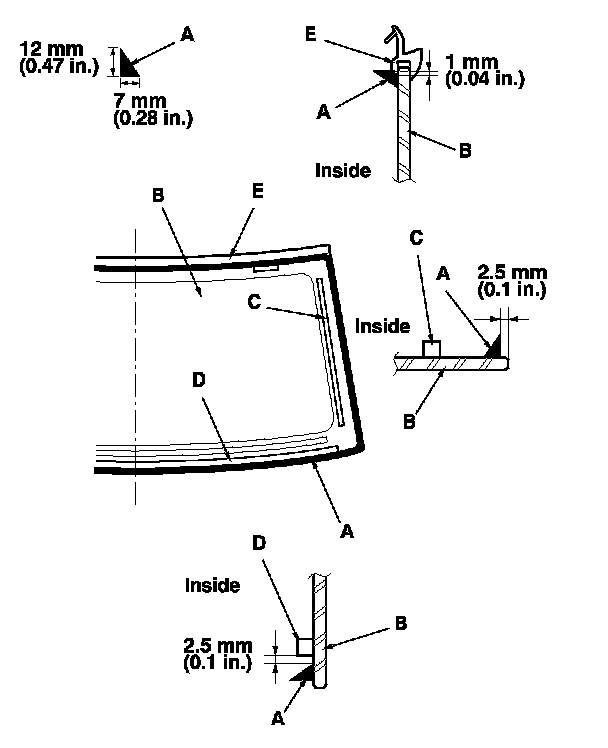
11. Apply primer to the edge of the windshield between the alignment marks (A). Be careful not to touch the windshield where adhesive is applied.






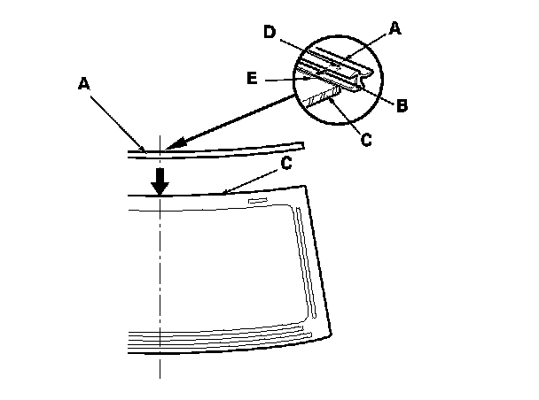
12. Attach the molding (A) with adhesive tape (B) to the edge of the windshield (C):
- Be sure the alignment mark (D) of the molding lines up with the alignment mark (E) of the windshield.

- Be careful not to touch the windshield where adhesive is applied.










13. Attach the molding upper seal (A) to the inside surface of the molding (B), and attach the non-woven fabric (C) as shown:
- Be sure the molding upper seal and non-woven fabric line up with the alignment dots (D).

- Be careful not to touch the windshield where adhesive is applied.





14. Install the clips on the body.






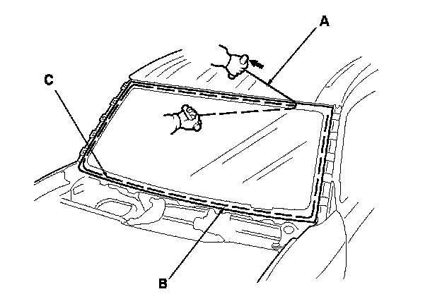
15. Set the windshield in the opening, and center it. Make alignment marks (A) across the windshield and the body with a grease pencil at the four points shown. Be careful not to touch the windshield where adhesive is applied.

16. Remove the windshield.






17. Apply a light coat of glass primer with sponge applicator around the edge of the windshield (A) between the side rubber dam (B), the lower rubber dam (C), and the molding (D) as shown, then lightly wipe it off with gauze or cheesecloth:
- Apply glass primer to the molding.

- Do not apply body primer to the windshield, and be careful not to mix up the primer sponge applicators.

- Never touch the primed surfaces with your hands. If you do, the adhesive may not bond to the windshield properly, causing a leak after the windshield is installed.

- Keep water, dust, and abrasive materials away from the primed surface.





18. Carefully apply a light coat of body primer with a sponge applicator, to any exposed paint around the flange where new adhesive is applied. Let the primer dry for at least 10 minutes:
- Do not apply body primer to any remaining original adhesive on the flange.

- Be careful not to mix up the body and glass primer sponge applicators.

- Never touch the primed surfaces with your hands.





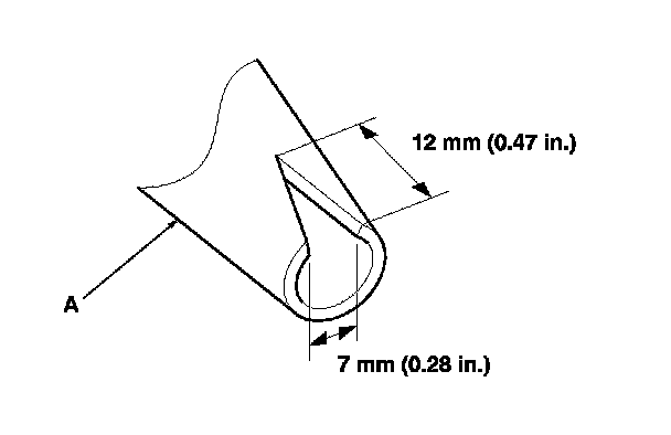
19. Cut a "V" in the end of the nozzle (A) on the adhesive cartridge as shown.






20. Put the cartridge in a caulking gun, and run a continuous bead of adhesive (A) around the edge of the windshield (B) between the side rubber dam (C), the lower rubber dam (D), and the molding (E) as shown. Apply the adhesive within 30 minutes after applying the glass primer. Make a slightly thicker bead at each corner.

21. Use suction cups to hold the windshield over the opening, align it with the alignment marks made in step 15, and set it down on the adhesive. Lightly push on the windshield until its edges are fully seated on the adhesive all the way around.
NOTE: Do not open or close any of the doors for about one hour until the adhesive is dry.

22. Remove the excess adhesive with a putty knife or a shop towel dampened with isopropyl alcohol.

23. After the adhesive has dried, spray water over the windshield and check for leaks. Mark the leaking area, let the windshield dry, then seal with sealant:
- Let the vehicle stand for at least 4 hours after windshield installation. If the vehicle has to be used within the first 4 hours, it must be driven slowly.

- Keep the windshield dry for the first hour after installation.

24. Reinstall all remaining removed parts.
NOTE: Advise the customer not to do the following things for 2 to 3 days:

- Slam the doors with all the windows rolled up.

- Twist the body excessively (such as when going in and out of driveways at an angle or driving over rough, uneven roads).