LEMON Manuals: Even more car manuals for everyone: 1960-2025
Home >> Honda >> 2009 >> Element SC, Automatic >> Repair and Diagnosis >> External Pages >> Different car >> Section 67 (Audio System (V6)) >> USB Adapter Control Unit Replacement
April 5, 2026: LEMON Manuals is launched! Read the announcement.

USB Adapter Control Unit Replacement

WARNING: This page does not describe the selected car, but rather 6 other vehicles, including the 2015 Honda Crosstour, 2014 Honda Crosstour, 2013 Honda Crosstour, 2012 Honda Crosstour, and 2011 Honda Accord Crosstour. However, it is still accessible from the selected car via links, so may be relevant.
  1. Remove the center console (see CENTER CONSOLE REMOVAL/INSTALLATION ).
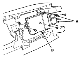
  2. Disconnect the connectors (A) from the USB adapter control unit (B).
    Fig 1: Identifying USB Adapter Control Unit And Connector
    G06424420Courtesy of AMERICAN HONDA MOTOR CO., INC.
  3. Remove the self-tapping screws and the USB adapter control unit.
  4. Install the USB adapter control unit in the reverse order of removal.