LEMON Manuals: Even more car manuals for everyone: 1960-2025
Home >> Honda >> 2009 >> Element SC, Standard >> Repair and Diagnosis (Single Page) >> Electrical >> Body Electrical >> OEM Circuit Diagrams >> Navigation System >> How the Circuit Works >> System Diagram
April 5, 2026: LEMON Manuals is launched! Read the announcement.

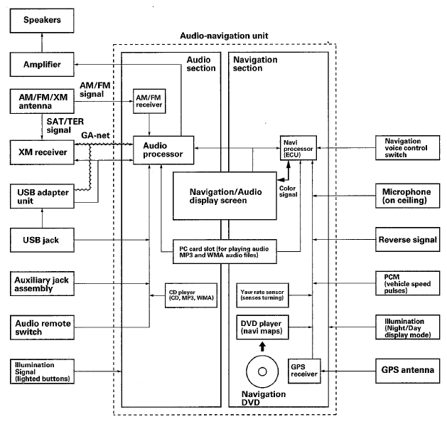
System Diagram

Fig 1: System Diagram Circuit Diagram (Page 156-7)
G07758432