LEMON Manuals: Even more car manuals for everyone: 1960-2025
Home >> Honda >> 2009 >> Element SC, Standard >> Repair and Diagnosis >> Body & Frame >> Windows >> Glass >> Quarter Glass Replacement
April 5, 2026: LEMON Manuals is launched! Read the announcement.

Quarter Glass Replacement

NOTE:
  • Put on gloves to protect your hands.
  • Wear eye protection while cutting the glass adhesive with piano wire.
  • Use seat covers to avoid damaging any surfaces.
  • Do not damage the glass antenna grid lines and terminals.
  1. Remove these items:
  2. If the old quarter glass is to be reinstalled, make alignment marks across the glass and body with a grease pencil.
  3. Pull down the rear side portion of the headliner as necessary (see HEADLINER REMOVAL/INSTALLATION ).
  4. Apply protective tape along the inside and outside edges of the body. Using an awl, make a hole through the adhesive from inside the vehicle. Push a piece of piano wire through the hole, and wrap each end around a piece of wood.
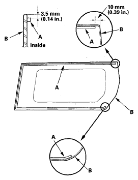
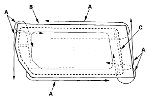
  5. With a helper on the outside, pull the piano wire (A) back and forth in a sawing motion. Hold the piano wire as close to the quarter glass (B) as possible to prevent damage to the body, and carefully cut through the adhesive (C) around the entire quarter glass.
    Fig 1: Pulling Piano Wire
    G05450935Courtesy of AMERICAN HONDA MOTOR CO., INC.

    Cutting positions 

    Fig 2: Identifying Cutting Positions
    G05450936Courtesy of AMERICAN HONDA MOTOR CO., INC.
  6. Carefully remove the quarter glass.
  7. With a putty knife, scrape the old adhesive smooth to a thickness of about 2 mm (0.08 in.) on the bonding surface around the entire quarter glass opening flange:
    • Do not scrape down to the painted surface of the body; damaged paint will interfere with proper bonding.
    • Remove the fasteners from the body.
  8. Clean the body bonding surface with a sponge dampened in alcohol. After cleaning, keep oil, grease, and water from getting on the surface.
  9. If the old quarter glass is to be reinstalled, use a putty knife to scrape off all of the old adhesive and the rubber dam from the glass. Clean the inside face and the edge of the glass with alcohol where new adhesive is to be applied. Make sure the bonding surface is kept free of water, oil, and grease.
  10. Attach the rubber dam (A) with adhesive tape to the inside surface of the glass (B) as shown. Be careful not to touch the glass where adhesive will be applied.

    Rubber dam adhesive tape: 

    • Thickness 0.16 mm (0.006 in.) 
    • Width 3.5 mm (0.14 in.) 
    Fig 3: Attaching Rubber Dam With Adhesive Tape To Inside Surface Of Glass
    G05450937Courtesy of AMERICAN HONDA MOTOR CO., INC.
  11. Before installing the clips (A, B), apply primer to the inside face of the quarter glass (C) where clips will be installed, and apply the clips with adhesive tape. Be careful not to touch the quarter glass where adhesive will be applied.

    Clip adhesive tape: 

    • Thickness 0.4 mm (0.016 in.) 
    • Width 7.5 mm (0.30 in.) 
    Fig 4: Applying Primer To Inside Face Of Quarter Glass
    G05450938Courtesy of AMERICAN HONDA MOTOR CO., INC.
  12. With a sponge, apply a light coat of glass primer to the edge of the glass (A) and along the rubber dam (B) as shown, then lightly wipe it off with gauze or cheesecloth:
    • Do not apply body primer to the quarter glass, and do not get body and glass primer sponges mixed up.
    • Never touch the primed surfaces with your hands. If you do, the adhesive may not bond to the quarter glass properly, causing a leak after the quarter glass is installed.
    • Keep water, dust, and abrasive materials away from the primed surface.
      Fig 5: Applying Light Coat Of Glass Primer To Edge Of Glass And Along Rubber Dam
      G05450939Courtesy of AMERICAN HONDA MOTOR CO., INC.
  13. With a sponge, carefully apply a light coat of body primer to any exposed paint around the flange where new adhesive will be applied. Let the primer dry for at least 10 minutes:
    • Do not apply body primer to any remaining original adhesive on the flange.
    • Be careful not to mix up the body and glass primer sponges.
    • Never touch the primed surfaces with your hands.
      Fig 6: Applying Light Coat Of Body Primer To Around Flange
      G05450940Courtesy of AMERICAN HONDA MOTOR CO., INC.
  14. Cut a "V" in the end of the nozzle (A) on the adhesive cartridge as shown.
    Fig 7: Cutting "V" In End Of Nozzle On Adhesive Cartridge
    G05450941Courtesy of AMERICAN HONDA MOTOR CO., INC.
  15. Put the cartridge in a caulking gun, and run a bead of adhesive (A) around the edge of the glass (B) as shown. Apply the adhesive within 30 minutes after applying the glass primer. Make a slightly thicker bead at each corner.
    Fig 8: Applying Adhesive To Edge Of Glass
    G05450942Courtesy of AMERICAN HONDA MOTOR CO., INC.
  16. Use suction cups (A) to hold the quarter glass over the opening, align it and set it down on the adhesive. Lightly push on the quarter glass until its edges are fully seated on the adhesive all the way around.
    NOTE: Do not open or close any of the doors for about an hour until the adhesive is dry.
    Fig 9: Holding Glass Using Suction Cups
    G05450943Courtesy of AMERICAN HONDA MOTOR CO., INC.
  17. Scrape or wipe the excess adhesive off with a putty knife or towel. To remove adhesive from a painted surface or the quarter glass, use a soft shop towel dampened with alcohol.
  18. After the adhesive has dried, spray water over the quarter glass window and check for leaks. Mark the leaking area, let the quarter glass window dry, then seal with sealant. Let the vehicle stand for at least 4 hours after quarter glass window installation. If the vehicle has to be used within the first 4 hours, it must be driven slowly.
  19. Reinstall all remaining removed parts.
    NOTE: Advise the customer not to do the following things for 2 to 3 days:
    • Slam the doors with all the windows rolled up.
    • Twist the body excessively (such as when going in and out of driveways at an angle or driving over rough, uneven roads).