LEMON Manuals: Even more car manuals for everyone: 1960-2025
Home >> Honda >> 2009 >> Element SC, Standard >> Repair and Diagnosis >> External Pages >> Different car >> Section 109 (Audio System) >> Speaker Test/Replacement >> Tweeter
April 5, 2026: LEMON Manuals is launched! Read the announcement.

Speaker Test/Replacement: Tweeter

WARNING: This page does not describe the selected car, but rather 7 other vehicles, including the 2017 Honda Odyssey, 2016 Honda Odyssey, 2015 Honda Odyssey, 2014 Honda Odyssey, and 2013 Honda Odyssey. However, it is still accessible from the selected car via links, so may be relevant.
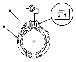
  1. From the notch (A), carefully pry the tweeter grille (B) out with a small screwdriver. Be careful not to damage the tweeter grille and the dashboard.
    Fig 1: Locating Notch And Tweeter Grille
    G06970923Courtesy of AMERICAN HONDA MOTOR CO., INC.
  2. Disconnect the connector (C) from the tweeter.
  3. Remove the tweeter (A) from the tweeter grille (B).
    Fig 2: Locating Tweeter And Tweeter Grille
    G06970924Courtesy of AMERICAN HONDA MOTOR CO., INC.
  4. Measure the resistance between the tweeter (A) terminals as shown.
    • With navigation: Measure the resistance between the tweeter 2P connector terminals No. 1 and No. 2. There should be about 3.3 Ω.
    • Without navigation: Measure the resistance between terminal No. 1 and the outside terminal of the capacitor (B). There should be about 4 Ω. Also check the capacitor condition. If any problem is found, replace the tweeter.

    With navigation 

    Fig 3: Measuring Resistance Between Tweeter 2P Connector Terminals No. 1 And No. 2 - With Navigation
    G06970925Courtesy of AMERICAN HONDA MOTOR CO., INC.

    Without navigation 

    Fig 4: Measuring Resistance Between Terminal No. 1 And Outside Terminal Of Capacitor - Without Navigation
    G06970926Courtesy of AMERICAN HONDA MOTOR CO., INC.
  5. If the resistance is not as specified, replace the tweeter.