LEMON Manuals: Even more car manuals for everyone: 1960-2025
Home >> Honda >> 2009 >> Element SC, Standard >> Repair and Diagnosis >> External Pages >> Different car >> Section 119 (Engine Block) >> Piston Ring Replacement
April 5, 2026: LEMON Manuals is launched! Read the announcement.

Piston Ring Replacement

WARNING: This page does not describe the selected car, but rather 7 other vehicles, including the 2017 Honda Odyssey, 2016 Honda Odyssey, 2015 Honda Odyssey, 2014 Honda Odyssey, and 2013 Honda Odyssey. However, it is still accessible from the selected car via links, so may be relevant.
  1. Remove the pistons from the engine block (see CRANKSHAFT AND PISTON REMOVAL  ).
  2. Using a ring expander (A), remove the old piston rings (B).
    Fig 1: Removing Piston Rings Using Ring Expander
    G06966471Courtesy of AMERICAN HONDA MOTOR CO., INC.
  3. Clean all the ring grooves thoroughly with a squared-off broken ring, or a ring groove cleaner with a blade to fit the piston grooves. File down the blade, if necessary. The top ring and second ring grooves are 1.2 mm (0.047 in) wide, and the oil ring groove is 2.8 mm (0.110 in) wide. Do not use a wire brush to clean the ring grooves, or cut the ring grooves deeper with the cleaning tool.
    NOTE: If the piston is to be separated from the connecting rod, do not install new rings yet.
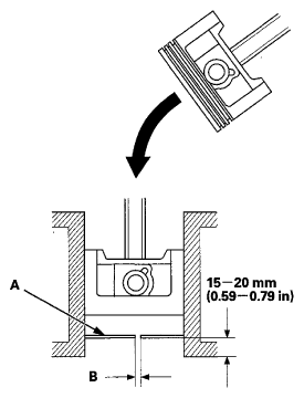
  4. Using a piston, push a new ring (A) into the cylinder bore 15-20 mm (0.59-0.79 in) from the bottom.
    Fig 2: Pushing Ring Into Cylinder Bore Using Piston
    G06966472Courtesy of AMERICAN HONDA MOTOR CO., INC.
  5. Measure the piston ring end-gap (B) with a feeler gauge:
    • If the gap is too small, check to see if you have the proper rings for your engine.
    • If the gap is too large, recheck the cylinder bore diameter against the wear limits (see step  4 ). If the bore is over the service limit, the engine block must be rebored.

    Piston Ring End-Gap 

    Top Ring: 

    Standard (New): 0.20-0.35 mm (0.008-0.013 in) 

    Service Limit: 0.60 mm (0.023 in) 

    Second Ring: 

    Standard (New): 0.40-0.55 mm (0.016-0.021 in) 

    Service Limit: 0.70 mm (0.027 in) 

    Oil Ring: 

    Standard (New): 0.20-0.70 mm (0.008-0.027 in) 

    Service Limit: 0.80 mm (0.031 in) 

  6. Install the rings as shown. The top ring (A) has a 1D mark and the second ring (B) has a 2X mark. The manufacturing marks (C) must be facing upward.
    Fig 3: Identifying Piston Rings
    G06966473Courtesy of AMERICAN HONDA MOTOR CO., INC.
    Fig 4: Identifying Piston Rings With Manufacturing Marks
    G06966474Courtesy of AMERICAN HONDA MOTOR CO., INC.

    Piston Ring Dimensions: 

  7. After installing a new set of rings, measure the ring-to-groove clearance.

    Top Ring Clearance 

    Standard (New): 0.055-0.080 mm (0.003-0.003 in) 

    Service Limit: 0.15 mm (0.005 in) 

    Second Ring Clearance 

    Standard (New): 0.030-0.055 mm (0.002-0.002 in) 

    Service Limit: 0.13 mm (0.005 in) 

    Fig 5: Measuring Ring-To-Groove Clearance
    G06966475Courtesy of AMERICAN HONDA MOTOR CO., INC.
  8. Rotate the rings in their grooves to make sure they do not bind.
  9. Position the ring end gaps as shown.
    Fig 6: Identifying Ring End Gap Position
    G06966476Courtesy of AMERICAN HONDA MOTOR CO., INC.