LEMON Manuals: Even more car manuals for everyone: 1960-2025
Home >> Honda >> 2009 >> Element SC, Standard >> Repair and Diagnosis >> External Pages >> Different car >> Section 83 (Conventional Brake Components) >> Brake Fluid Level Switch Test
April 5, 2026: LEMON Manuals is launched! Read the announcement.

Brake Fluid Level Switch Test

WARNING: This page does not describe the selected car, but rather 7 other vehicles, including the 2017 Honda Odyssey, 2016 Honda Odyssey, 2015 Honda Odyssey, 2014 Honda Odyssey, and 2013 Honda Odyssey. However, it is still accessible from the selected car via links, so may be relevant.
NOTE: If both the ABS/VSA indicator and the brake system indicator come on at the same time, check the VSA system for DTC's first (see GENERAL TROUBLESHOOTING INFORMATION ).
  1. Disconnect the brake fluid level switch connector.
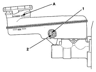
  2. Check for continuity between the terminals (1) and (2) with the float in the down position and in the up position.
    • Remove the brake fluid completely from the reservoir. With the float down, there should be continuity.
    • Fill the reservoir with brake fluid to the MAX (upper) level line (A). With the float up, there should be no continuity.
      NOTE: If the parking brake switch and the brake fluid level switch are OK, but the brake system indicator does not function, do the gauge control module self-diagnostic function (see SELF-DIAGNOSTIC FUNCTION ).
      Fig 1: Identifying Brake Fluid MAX Level Line And Connector Terminals
      G06969694Courtesy of AMERICAN HONDA MOTOR CO., INC.
  3. Reconnect the brake fluid level switch connector.