LEMON Manuals: Even more car manuals for everyone: 1960-2025
Home >> Honda >> 2009 >> Fit L4-1.5L >> Repair and Diagnosis >> Power and Ground Distribution >> Testing and Inspection
April 5, 2026: LEMON Manuals is launched! Read the announcement.

Power and Ground Distribution: Testing and Inspection




Power Relay Test

Special Tools Required

- Relay puller 07AAC-000A1A0
Use this chart to identify the type of relay, then do the test listed for it.














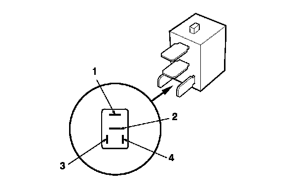
Normally-open Type

Check for continuity between the terminals:

- There should be continuity between terminals No. 1 and No. 2 when battery power is connected to terminal No. 4, and body ground is connected to terminal No. 3.

- There should be no continuity between terminals No. 1 and No. 2 when power is disconnected.









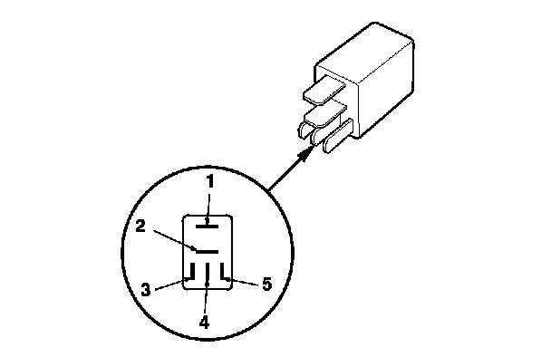
Five-terminal Type

Check for continuity between the terminals:

- There should be continuity between terminals No. 1 and No. 2 when battery power is connected to terminal No. 5, and body ground is connected to terminal No. 3.

- There should be continuity between terminals No. 1 and No. 4 when power is disconnected.