LEMON Manuals: Even more car manuals for everyone: 1960-2025
Home >> Honda >> 2009 >> Fit L4-1.5L >> Repair and Diagnosis >> Powertrain Management >> Computers and Control Systems >> Information Bus >> Description and Operation >> System Description
April 5, 2026: LEMON Manuals is launched! Read the announcement.

System Description




Multiplex Integrated Control System Description

MICU Control Function Index

The MICU (built into the under-dash fuse/relay box) is one of the B-CAN components. The MICU controls many systems related to the body controller area and the security system, and it also works as a gateway to diagnose the other B-CAN connected ECUs with the HDS.

Refer to each system circuit diagram for details.





The MICU also controls the function of these circuits:

- Entry lights (ceiling light, cargo area light)

- Exterior lights (including the daytime running lights control)

- Horn

- Interlock system

- Keyless entry

- Power door locks

- Security alarm

- Turn signal/hazard flasher

- Wiper/washer

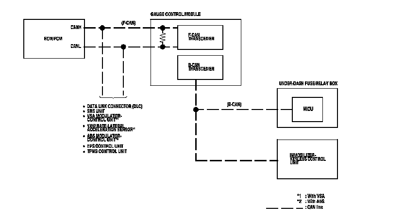
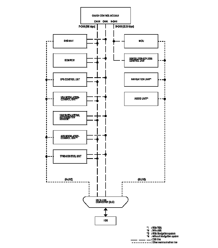
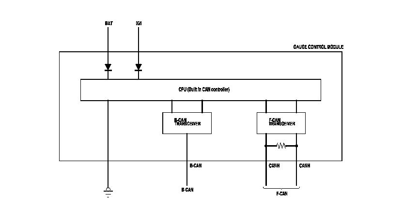
Body Controller Area Network (B-CAN) and Fast Controller Area Network (F-CAN)

The body controller area network (B-CAN) and the fast controller area network (F-CAN) share information between multiple electronic control units (ECUs). B-CAN communication moves at a slower speed (33.33 kbps) for convenience related items and for other functions. F-CAN information moves at a faster speed (500 kbps) for "real time" functions such as fuel and emissions data. To allow both systems to share information, the gauge control module translates information from B-CAN to F-CAN and from F-CAN to B-CAN.






Gateway Function

The gauge control module acts as a gateway to allow both systems to share information. The gauge control module translates information from B-CAN to F-CAN and from F-CAN to B-CAN.






Network "Loss of Communication" Error Checking Function

The ECUs on the CAN circuit send messages to each other. If there are any malfunctions on the network, the LCD display on the gauge control module can indicate the error messages by entering the gauge control module self-diagnostic function. Initial Inspection and Diagnostic Overview

Self-diagnostic Function

By connecting the HDS to the data link connector (DLC), the HDS can retrieve the diagnostic information from the MICU via a diagnostic line called K-LINE. The K-LINE is separated from the CAN lines, but it is connected to the CAN related ECUs. The MICU is a gateway between the HDS and B-CAN related ECUs, and it sends B-CAN diagnostic information to the HDS. When doing a function test with the HDS, the HDS sends an output signal through the K-LINE to the MICU. The MICU either relays the request to another ECU or commands the function itself.






Wake-up and Sleep Function

The multiplex integrated control system has wake-up and sleep functions to decrease parasitic draw on the battery when the ignition switch is turned to LOCK (0).

- In the sleep mode, the multiplex integrated control system stops functioning (communication and CPU control) when it is not necessary for the system to operate.

- As soon as any operation is requested (for example, a door is unlocked), the related control units in the sleep mode immediately wake up and begin to function.

- When the ignition switch is turned to LOCK (0), and the driver's door is opened then closed, there is a delay of about 40 seconds before the control unit goes from the wake-up mode to the sleep mode.

- The sleep mode will not function if any door is opened or if a key is in the ignition.

- The draw is reduced from 200 mA to less than 35 mA when in the sleep mode.

NOTE: Sleep and Wake-up Mode Test. Multiplex Integrated Control System Sleep and Wake-up Mode Test

Fail-safe Function

To prevent improper operation, the MICU has a fail-safe function. In the fail-safe mode, the output signal is fixed when any part of the system malfunctions (for example, a faulty control unit or communication line).

Each control unit has a hardware fail-safe function that fixes the output signal when there is a CPU malfunction and a software fail-safe function that ignores the signal from a malfunctioning control unit, which allows the system to operate normally.

Hardware Fail-safe Control

Fail-safe function

When a CPU problem or an abnormal power supply voltage is detected, the MICU moves to the hardware fail-safe mode, and each system output load is set to the pre-programmed fail-safe value.

Software Fail-safe Control

When any of the data from the B-CAN circuit cannot be received within a specified time, or an unusual combination of data is recognized, the MICU moves to the software fail-safe mode. The data that cannot be received is forced to a pre-programmed value.

Power Supply Voltage Monitoring Function

The MICU monitors the power supply voltage (back-up voltage). If the voltage goes below 10 V, the MICU sends a MICU message and will not store DTCs.





Lighting System (Headlights, parking lights, license plate lights and taillights)

The MICU control of the lighting system is based on input signals from the ignition switch (II) and the combination light switch.





Daytime Running Lights

The MICU control of the headlights as daytime running lights based on input signals from each switch.





Fog Lights

The MICU control of the fog lights is based on input signal from the fog light switch.





Turn Signal/Hazard Warning Lights

The MICU control of the turn signal/hazard warning lights is based on input signals from the turn signal switch and the hazard warning switch.





Entry Light Control System

The MICU control of the interior lights is based on input signals of each switches and the keyless signals sent by the B-CAN.





Cargo Area Light

The MICU control of the cargo area light is based on the tailgate latch switch.





Wiper/Washer

The MICU control of the wiper is based on input signals from each switch and B-CAN signals.





Rear Window Wiper

The MICU control of the rear window wiper motor and washer motor is based on input signals from each switch.





Washer

The MICU control of the washer motor is based on input signals from the washer switch.





Key Interlock (A/T)

The MICU control of the key interlock solenoid is based on input signals from each switch.





Power Window Timer Operation

The MICU control of the power window timer operation is based on input signals from each switch.





Collision Detection Signal (CDS)

The MICU control of the door lock actuators is based on the IG1 and B-CAN signals.





Power Door Locks

The MICU control of the door lock actuators is based on input signals from each switch.





Keyless Entry System

The MICU control of the door lock actuators is based on input signals of each switch and B-CAN signals.





Auto Power Door Locks (LOCK operation)

The MICU control of the door lock actuators is based on input signals from each switch.





Auto Power Door Locks (UNLOCK operation)

The MICU control of the door lock actuators is based on the input signals from each switch.





Keyless PANIC Operation

The MICU control of the keyless PANIC operation is based on the B-CAN signal.





Security Alarm System

The MICU control of the lighting system and the security horn is based on input signals of each switch and B-CAN signals.





Keyless Answer Back

The MICU control of the lighting system and horn is based on the B-CAN signal.





HDS Inputs, Outputs, and Commands

Certain inputs happen so quickly that the Data List on the HDS cannot update fast enough. Hold the switch that is being tested while monitoring the Data List. This should give the HDS time to update the signal on the Data List.

Because the HDS software is updated to support the release for newer vehicles, it is not uncommon to see system function tests that are not supported.

Make sure that the most current software is loaded.





















Function Test: