LEMON Manuals: Even more car manuals for everyone: 1960-2025
Home >> Honda >> 2009 >> Fit L4-1.5L >> Repair and Diagnosis >> Specifications >> Mechanical Specifications >> Engine >> System Specifications >> Tightening Torques and Sequences
April 5, 2026: LEMON Manuals is launched! Read the announcement.

Tightening Torques and Sequences

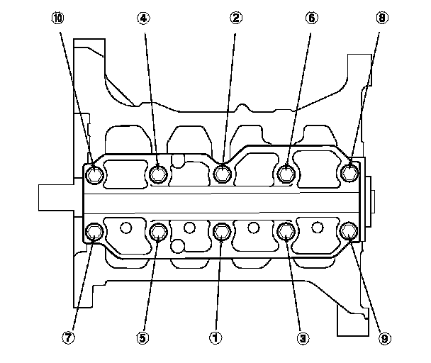
Cylinder Head Torque and Sequence

Tighten the cylinder head bolts in sequence to 29 N-m (3.0 kgf-m, 22 lbf-ft). Using a beam-type torque wrench. When using a preset-type torque wrench, be sure to tighten slowly and do not overtighten. If a bolt makes any noise while you are torquing it, loosen the bolt and retighten it from the first step.






Tighten all cylinder head bolts an additional 130 °.

Main Bearing Cap Torque and Sequence

Tighten the bearing cap bolts in sequence to 25 N-m (2.5 kgf-m, 18 lbf-ft).






Tighten the bearing cap bolts an additional 40 °.

Rod Bearing Cap Torque and Sequence

Tighten the connecting rod bolts to 9.8 N-m (1.0 kgf-m, 7.2 lbf-ft).






Tighten the connecting rod bolts an additional 90 °.

Crankshaft Pulley Torque

Tighten the crankshaft pulley bolt. Do not use an impact wrench.

Hold the pulley with the handle (A) and crankshaft pulley holder (B), then tighten the bolt to 37 N-m (3.8 kgf-m, 27 lbf-ft) with a torque wrench and a 19 mm socket (C). If the pulley bolt or crankshaft are new, tighten the bolt to 177 N-m (18.0 kgf-m, 130 lbf-ft), then remove the bolt and tighten it to 37 N-m (3.8 kgf-m, 27 lbf-ft).

Mark the embossed mark (D) on the bolt flange and the crankshaft pulley (E) as shown, then tighten the bolt an additional 90 ° (The mark on the bolt head should line up with the next embossed mark (F) on the bolt flange).

Flywheel