LEMON Manuals: Even more car manuals for everyone: 1960-2025
Home >> Honda >> 2009 >> Odyssey EX >> Repair and Diagnosis >> Body & Frame >> Windows >> Power Windows >> Passenger's Power Window Switch Test/Replacement >> Front Passenger's
April 5, 2026: LEMON Manuals is launched! Read the announcement.

Front Passenger's

  1. Remove the front passenger's door panel (see FRONT DOOR PANEL REMOVAL/INSTALLATION ).
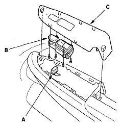
  2. Remove the screw and disconnect the 10P connector (A) from the power window switch (B), then remove the switch assembly from the door panel.
    Fig 1: Identifying 10P Connector And Power Window Switch
    G05526694Courtesy of AMERICAN HONDA MOTOR CO., INC.
  3. Remove the four mounting screws, then remove the power window switch from the switch panel (C).
  4. Swap the window switch with another known-good switch and test. If the original power window switch is faulty; replace it.
  5. Install in the reverse order of removal.