LEMON Manuals: Even more car manuals for everyone: 1960-2025
Home >> Honda >> 2009 >> Odyssey V6-3.5L >> Repair and Diagnosis >> Heating and Air Conditioning >> Control Assembly >> Service and Repair >> Rear Control Panel Removal/Installation
April 5, 2026: LEMON Manuals is launched! Read the announcement.

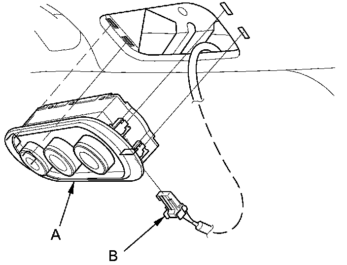
Rear Control Panel Removal/Installation




Rear Control Panel Removal/Installation

1. Remove the rear control panel (A) from the roof.

With rear climate control





Without rear climate control





2. Disconnect the connector (B) from the rear control panel.

3. Install the rear control panel in the reverse order of removal. After installation, operate the various functions to see whether works properly.

4. Run the self-diagnostic function to confirm that there are no problems in the system How to Troubleshoot the Climate Control System.