LEMON Manuals: Even more car manuals for everyone: 1960-2025
Home >> Honda >> 2009 >> Odyssey V6-3.5L >> Repair and Diagnosis >> Lighting and Horns >> Testing and Inspection >> Automatic Lighting Control Unit Input Test
April 5, 2026: LEMON Manuals is launched! Read the announcement.

Automatic Lighting Control Unit Input Test




Automatic Lighting Control Unit Input Test

1. Before testing the automatic lighting control functions, troubleshoot the multiplex integrated control system using B-CAN System Diagnosis Test Mode A Troubleshooting - B-CAN System Diagnosis Test Mode A.

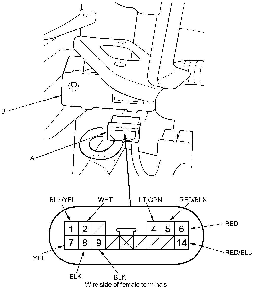
2. Remove the driver's dashboard lower cover Driver's Dashboard Lower Cover Removal/Installation.

3. Disconnect the 14P connector (A) from the automatic lighting control unit (B).





4. Inspect the connector and socket terminals to be sure they are all making good contact.

- If the terminals are bent, loose or corroded, repair them as necessary, and recheck the system.
- If the terminals look OK, go to step 5.

5. Reconnect the automatic lighting control unit connector, then do these input tests at the following connectors.

- If any test indicates a problem, find and correct the cause, then recheck the system.
- If all the inputs test prove OK, go to step 6.





6. Connect a voltmeter and jumper wires as shown, then turn the ignition switch to ON (II) and do this input test at the following connector.

- If test indicates a problem, find and correct the cause, then recheck the system.
- If the input test proves OK, replace the automatic lighting control unit.