LEMON Manuals: Even more car manuals for everyone: 1960-2025
Home >> Honda >> 2009 >> Odyssey V6-3.5L >> Repair and Diagnosis >> Powertrain Management >> Computers and Control Systems >> Fuel Tank Pressure Sensor >> Service and Repair
April 5, 2026: LEMON Manuals is launched! Read the announcement.

Fuel Tank Pressure Sensor: Service and Repair




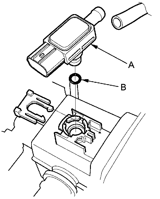
FTP Sensor Replacement

1. Remove the EVAP canister Service and Repair.

2. Remove the FTP sensor (A).





3. Install the parts in the reverse order of removal with a new O-ring (B).