LEMON Manuals: Even more car manuals for everyone: 1960-2025
Home >> Honda >> 2009 >> Pilot 2WD V6-3.5L >> Repair and Diagnosis >> Windows and Glass >> Windows >> Power Window Switch >> Service and Repair >> Front Passenger's Power Window Switch Replacement
April 5, 2026: LEMON Manuals is launched! Read the announcement.

Front Passenger's Power Window Switch Replacement




Front Passenger's Power Window Switch Replacement

1. Carefully remove the front passenger's power window switch panel (A).





2. Disconnect the 37P connector (B) from the front passenger's power window switch.

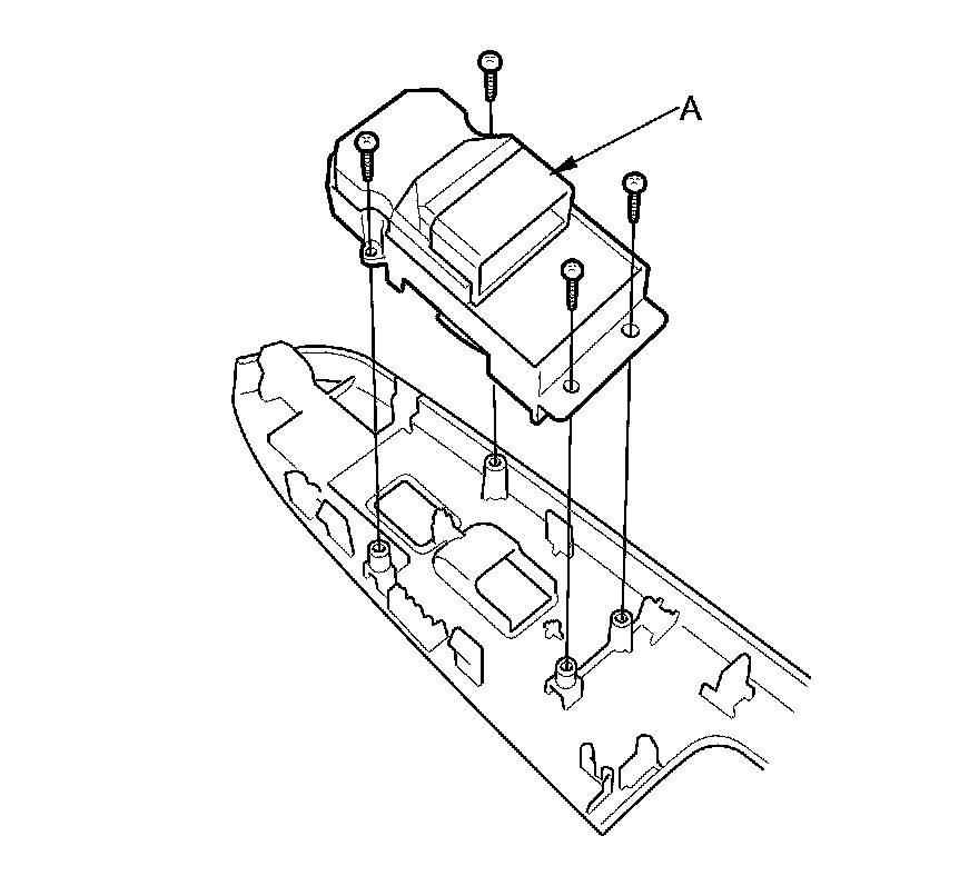
3. Remove the four screws and the front passenger's power window switch (A).






4. Install the switch in the reverse order of removal.

5. Reset the power window control unit Testing and Inspection.