LEMON Manuals: Even more car manuals for everyone: 1960-2025
Home >> Honda >> 2009 >> Pilot 2WD V6-3.5L >> Repair and Diagnosis >> Windows and Glass >> Windshield >> Service and Repair
April 5, 2026: LEMON Manuals is launched! Read the announcement.

Windshield: Service and Repair




Windshield Replacement

NOTE:

- Put on gloves to protect your hands.
- Wear eye protection while cutting the glass adhesive with a piano wire.
- Use seat covers to avoid damaging the seats.
- Glass adhesive can be efficiently cut with a commercially available auto glass tool. See the tool manufacturer's instructions for details.

1. Remove these items:

- Cowl cover Service and Repair
- Rearview mirror
- Without automatic dimming mirror
- With automatic dimming mirror
- With rearview monitor
- A-pillar trim, both sides
- Roof moldings, both sides
- Windshield side trims Service and Repair

2. Remove the molding (A) from the upper edge of the windshield (B). If necessary, cut the molding with a utility knife.






3. If the old windshield is reinstalled, make alignment marks (A) across the glass and body with a grease pencil.





4. Pull down the front portion of the headliner Service and Repair. Do not bend the headliner excessively, or you may crease or break it.

5. Apply protective tape along the edge of the dashboard and body. Use an awl to punch a hole at an inside upper corner of the windshield through the rubber dam, adhesive, and the windshield upper seal. Push a piece of piano wire through the hole, and wrap each end around a piece of wood.

6. With a helper on the outside, pull the piano wire (A) back and forth in a sawing motion. Hold the piano wire as close to the windshield (B) as possible to prevent damage to the body and dashboard.

Carefully cut through the rubber dam and adhesive (C) around the entire windshield.






Cutting positions





7. Carefully remove the windshield.

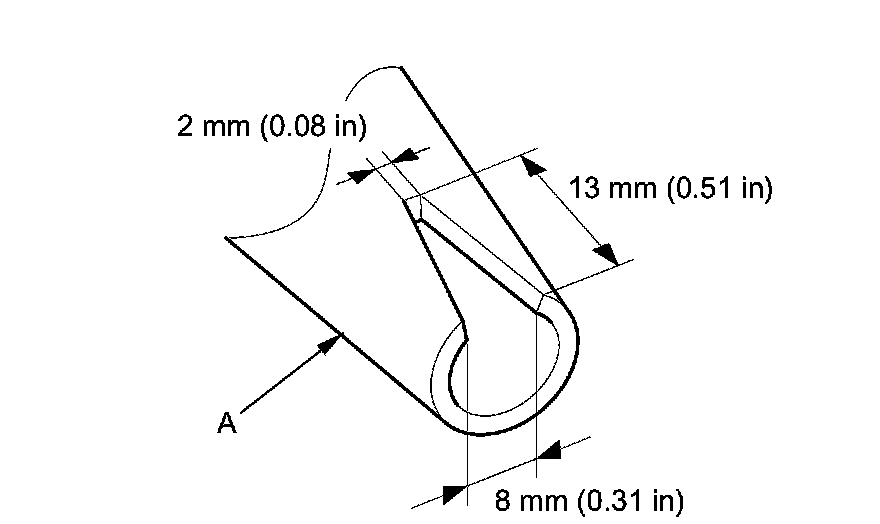
8. Scrape smooth the old adhesive with a knife until there is a thickness of about 2 mm (0.08 in) on the bonding surface around the entire windshield opening flange:

- Do not scrape down to the painted surface of the body; damaged paint will interfere with proper bonding.
- Remove the rubber dam and fasteners from the body.

9. Clean the body bonding surface with a sponge dampened in isopropyl alcohol. After cleaning, keep oil, grease and water from getting on the clean surface.

10. If you are reinstalling the old windshield, scrape off the old adhesive, the clips, and the rubber dams from the windshield with a putty knife. Clean the bonding surfaces on the inside face and the edge of the windshield with isopropyl alcohol. Make sure the bonding surface is kept free of water, oil, and grease.

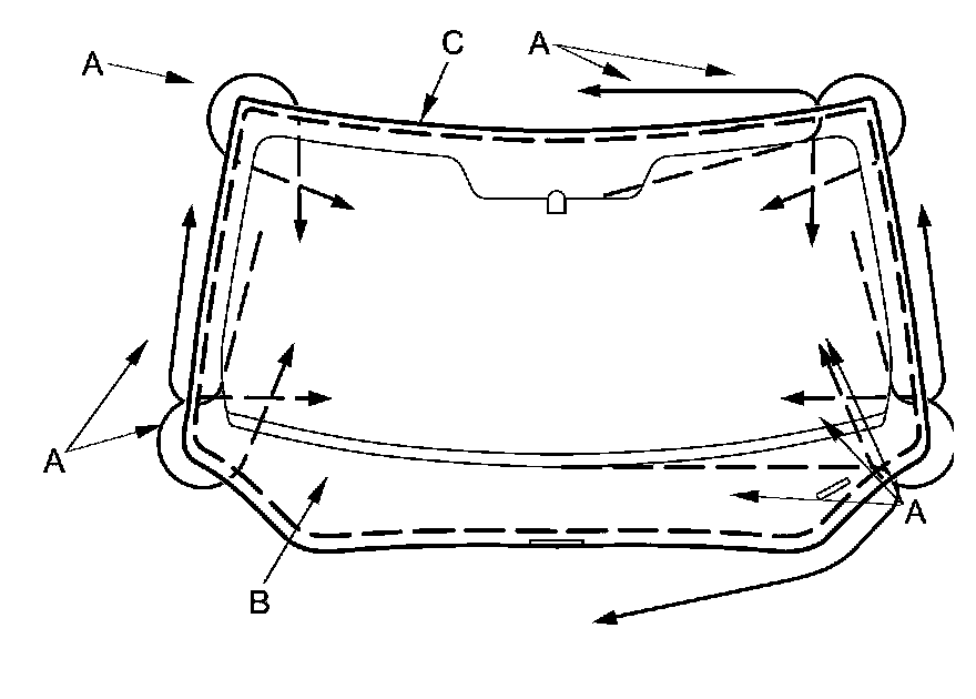
11. Attach the rubber dams A, B and the upper clips (C) with adhesive tape to the inside face of the windshield (D) as shown:

- Be sure the rubber dams and upper clips line up with the alignment marks (E).
- Be careful not to touch the windshield where adhesive will be applied.





12. Attach the dashboard seal (A) with adhesive tape to the inside surface of the windshield (B) as shown.






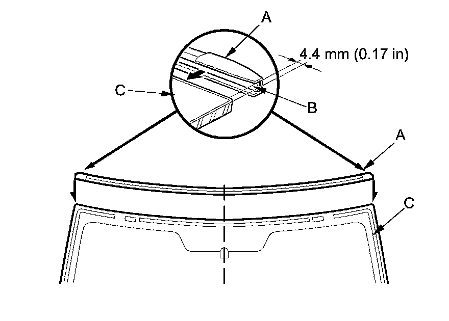
13. Attach the molding (A) with adhesive tape (B) to the upper edge of the windshield (C). Be careful not to touch the windshield where the adhesive will be applied.






14. Attach the molding upper seal (A) with adhesive tape to the inside surface of the molding (B) as shown.






15. Set the windshield in the opening, and center it. Make alignment marks (A) across the windshield and body with a grease pencil at the four points shown. Make sure both clips (B) contact with the edge of the body holes. Be careful not to touch the windshield where the adhesive will be applied.





16. Remove the windshield.

17. With a sponge, apply a light coat of glass primer around the edge of the windshield (A) between the dams (B, C) and molding (D) as shown, then lightly wipe it off with gauze or cheesecloth:

- Apply glass primer to the molding.
- Do not apply body primer to the windshield, and do not get body and glass primer sponges mixed up.
- Never touch the primed surfaces with your hands. If you do, the adhesive may not bond to the windshield properly, causing a leak after the windshield is installed.
- Keep water, dust, and abrasive materials away from primed surfaces.





18. With a sponge, carefully apply a light coat of body primer to any exposed paint or metal around the flange where new adhesive will be applied. Let the primer dry for at least 10 minutes:

- Do not apply body primer to any remaining original adhesive on the flange.
- Be careful not to mix up the body and glass primer sponges.
- Never touch the primed surfaces with your hands.





19. Cut a "V" in the end of the nozzle (A) on the adhesive cartridge as shown.






20. Put the cartridge in a caulking gun, and run a continuous bead of adhesive (A) around the edge of the windshield (B) between the dam (C) and the molding (D) as shown. Apply the adhesive within 30 minutes after applying the glass primer. Make a slightly thicker bead at each corner.






21. Hold the windshield with suction cups over the opening, align it with the alignment marks made in step 15, and set it down on the adhesive. Lightly push on the windshield until its edges are fully seated on adhesive all the way around.

NOTE: Do not open or close the doors for about an hour until the adhesive is dry.

22. Remove the excess adhesive with a putty knife or a shop towel dampened with isopropyl alcohol.

23. Wait at least an hour for the adhesive to dry, then spray water over the windshield and check for leaks. Mark leaking areas, and let the windshield dry, then seal with sealant. Let the vehicle stand for at least 4 hours after windshield installation. If the vehicle has to be used within the first 4 hours, it must be driven slowly.

24. Reinstall all remaining removed parts.

NOTE: Advise the customer not to do the following things for 2 to 3 days:

- Slam the doors with all the windows rolled up.
- Twist the body excessively (such as when going in and out of driveways at an angle or driving over rough, uneven roads).