LEMON Manuals: Even more car manuals for everyone: 1960-2025
Home >> Honda >> 2009 >> Pilot EX, 3.5 4 >> Repair and Diagnosis >> Engine Performance >> System >> Fuel Supply System >> Fuel Tank Replacement
April 5, 2026: LEMON Manuals is launched! Read the announcement.

Fuel Tank Replacement

  1. Drain the fuel tank (see FUEL TANK DRAINING  ), then reinstall the fuel tank unit without connecting its 4P connector and its quick-connect fitting.
  2. Raise the vehicle on a lift.
  3. Remove the exhaust pipe (see EXHAUST PIPE AND MUFFLER REPLACEMENT ).
  4. With VTM-4 system: Remove the propeller shaft (see PROPELLER SHAFT RUNOUT ).
  5. Remove the EVAP canister cover (see step 1 on EVAP CANISTER REPLACEMENT ).
  6. Remove the fuel tank protector (A).
  7. Fig 1: Fuel Tank Protector, Quick-Connector Fittings, Hoses, Fuel Tank, Strap Bolts & Straps With Torque Specifications
    G05961447Courtesy of AMERICAN HONDA MOTOR CO., INC.
  8. Disconnect the quick-connector fittings (B) and the hoses (C). Slide back the clamps, then twist the hoses as you pull to avoid damaging them.
  9. Place a jack or other support under the fuel tank (D), then remove the strap bolts (E) and the straps (F).
  10. Remove the fuel tank.
  11. Install the parts in the reverse order of removal.
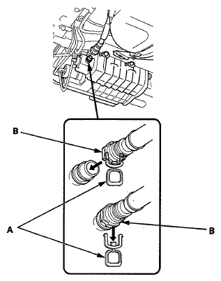
    Fig 2: Identifying Pull Ring & Fuel Vapor Hose Connector
    G05961448Courtesy of AMERICAN HONDA MOTOR CO., INC.
NOTE:
  • New fuel tanks have a pull ring (A) at the fuel vapor hose connector (B). When you connect the hose and confirm that the connection is secure, remove the pull ring by pulling it down.
  • Before connecting the fuel fill pipe and the quick-connect fittings, check for dirt, and clean it if needed, taking care not to damage the fuel fill pipe or other parts.