LEMON Manuals: Even more car manuals for everyone: 1960-2025
Home >> Honda >> 2009 >> Pilot EX, 3.5 4 >> Repair and Diagnosis >> Engine Performance >> System >> Fuel Supply System >> Fuel Tank Unit Removal/Installation >> Installation
April 5, 2026: LEMON Manuals is launched! Read the announcement.

Fuel Tank Unit Removal/Installation: Installation

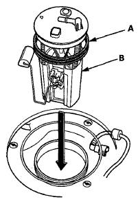
  1. Temporarily attach a new base gasket (A) to the fuel tank unit (B), then insert the fuel tank unit partially into the fuel tank.
    NOTE:
    • Be careful not to damage the new base gasket.
    • Be careful not to bend the fuel gauge sending unit.
    • Do not coat the base gasket with oil.
    Fig 1: View Of Fuel Tank Unit & Fuel Tank
    G05961440Courtesy of AMERICAN HONDA MOTOR CO., INC.
  2. Transfer the base gasket (A) from the fuel tank unit to the fuel tank.
  3. Fig 2: Identifying Base Gasket Position
    G05961441Courtesy of AMERICAN HONDA MOTOR CO., INC.
  4. Align the marks (B) on the fuel tank and the fuel tank unit, then insert the fuel tank unit into the fuel tank until it sits on the base gasket.
    NOTE: To prevent a fuel leak, check the base gasket, visually or by hand, to make sure it is not pinched.
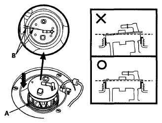
  5. Tighten the new locknut (A) with a new locknut plate (B) to the specified torque.
    NOTE: Before tightening, align the marks (C) on the locknut with the start of the threads (D).
    Fig 3: Locating New Locknut (A) Locknut Plate (B) Align The Marks (C) The Threads (D)
    G00511097Courtesy of AMERICAN HONDA MOTOR CO., INC.
  6. Using the special tool, tighten the locknut to the specified torque.
    NOTE:
    • After tightening, make sure the marks (A) are still aligned.
    • After installation, check the base gasket, visually or by hand, to make sure it is not pinched
    • Fig 4: Identifying Locknut (A), Locknut Plate (B), Align The Marks (C), Threads (D)
      G00511101Courtesy of AMERICAN HONDA MOTOR CO., INC.
  7. Connect the fuel tank unit 4P connector.
  8. Reconnect the quick-connect fitting to the fuel tank unit.
  9. Reconnect the negative cable to the battery, and turn the ignition switch to ON (II) (but do not operate the starter motor). The fuel pump will run for about 2 seconds, and fuel pressure will rise. Repeat this two or three times, then make sure there are no fuel leaks.
  10. Install the access panel on the floor.
  11. Install the second row seat (see SECOND ROW SEAT REMOVAL/INSTALLATION ).