LEMON Manuals: Even more car manuals for everyone: 1960-2025
Home >> Honda >> 2009 >> Ridgeline V6-3.5L >> Repair and Diagnosis >> Powertrain Management >> Computers and Control Systems >> Information Bus >> Testing and Inspection >> Component Tests and General Diagnostics >> Multiplex Integrated Control System MICU Input Test
April 5, 2026: LEMON Manuals is launched! Read the announcement.

Multiplex Integrated Control System MICU Input Test




Multiplex Integrated Control System MICU Input Test

NOTE: Check the No. 22 (120 A), No. 23 (60 A), No. 15 (40 A) fuse in the under-hood fuse/relay box before troubleshooting.

1. Before troubleshooting the MICU, troubleshoot the multiplex integrated control system first, using B-CAN System Diagnosis Test mode A. Troubleshooting - B-CAN System Diagnosis Test Mode A

2. Turn the ignition switch to LOCK (0).

3. Remove the left front door sill trim and left kick panel. Service and Repair

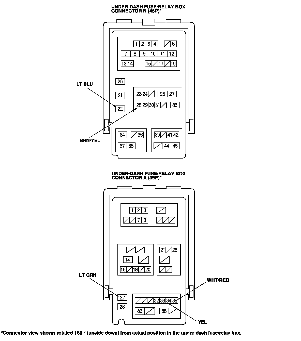
4. Disconnect the under-dash fuse/relay box connectors.

NOTE: All connector views are wire side of female terminals.

5. Inspect the connector and socket terminals to be sure they are all making good contact.
- If the terminals are bent, loose or corroded, repair them as necessary, and recheck the system.

- If the terminals look OK, go to step 6.

6. With the connectors still disconnected from the under-dash fuse/relay box, do these input tests at the following connector(s).
- If any test indicates a problem, find and correct the cause, then recheck the system.

- If all the input tests prove OK, go to step 7.









7. Reconnect the connectors to the under-dash fuse/relay box, and do sure these input tests at the following connectors on the under-dash fuse/relay box.
- If any test indicates a problem, find and correct the cause, then recheck the system.

- If all the input tests prove OK, the MICU must be faulty, replace the under-dash fuse/relay box assembly.