LEMON Manuals: Even more car manuals for everyone: 1960-2025
Home >> Honda >> 2009 >> S2000 Base >> Repair and Diagnosis (Single Page) >> Accessories & Equipment >> Warning Systems >> Tire Pressure Monitoring System >> TPMS Control Unit Replacement
April 5, 2026: LEMON Manuals is launched! Read the announcement.

TPMS Control Unit Replacement

NOTE: Make sure the TPMS control unit mounting bracket is not bent or twisted as this may affect its communication with the tire pressure sensors.
  1. Turn the ignition switch to LOCK (0).
  2. Remove the driver's dashboard lower cover (see DRIVER'S DASHBOARD LOWER COVER REMOVAL/INSTALLATION ).
  3. Disconnect the TPMS control unit connector (A).
    NOTE: The TPMS control unit is located above the hood release handle.
    Fig 1: TPMS Control Unit With Torque Specifications
    G05115881Courtesy of AMERICAN HONDA MOTOR CO., INC.
  4. Remove the flange bolt (B), and remove the TPMS control unit (C) with the bracket (D).
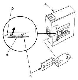
  5. Remove the TPMS control unit (A) from the bracket (B).
    NOTE: While separating the TPMS control unit from the bracket, release the hook (C) on the TPMS control unit using a flat-tipped screwdriver (D), and push it up to remove the bracket.
    Fig 2: Identifying TPMS Control Unit
    G05115882Courtesy of AMERICAN HONDA MOTOR CO., INC.
  6. Install the TPMS control unit in the reverse order of removal.
    NOTE: Make sure the TPMS control unit is properly installed. You will hear a click when the TPMS control unit is securely mounted on the bracket.
  7. Connect the HDS, and memorize the tire pressure sensor IDs using the TPMS initializer tool (see MEMORIZING THE TIRE PRESSURE SENSOR ID  ).