LEMON Manuals: Even more car manuals for everyone: 1960-2025
Home >> Honda >> 2009 >> S2000 Base >> Repair and Diagnosis (Single Page) >> Steering >> Electronic Steering >> Electrical Power Steering (EPS) >> General Troubleshooting Information >> How to Clear DTCs Using the Service Check Signal Circuit Method
April 5, 2026: LEMON Manuals is launched! Read the announcement.

How to Clear DTCs Using the Service Check Signal Circuit Method

NOTE: Use this procedure when the HDS software does not match the year/model vehicle you are working on.
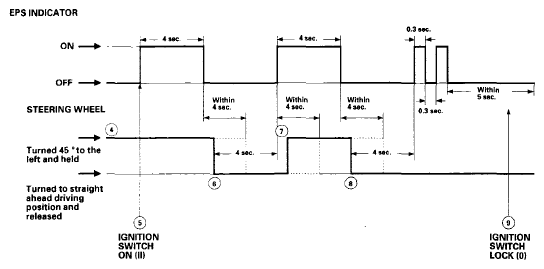
  1. With the ignition switch in LOCK (0), connect the HDS to the data link connector (DLC) (A) located under the driver's side of the dashboard.
    Fig 1: Identifying Data Link Connector (DLC)
    G06231881Courtesy of AMERICAN HONDA MOTOR CO., INC.
  2. With the vehicle on the ground, set the front wheels in the straight ahead driving position.
  3. Short the SCS circuit to body ground using the HDS.
  4. Turn the steering wheel 45 degrees to the left from the straight ahead driving position, and hold the steering wheel in that position.
  5. Turn the ignition switch to ON (II). The EPS indicator comes on, then it goes off after 4 seconds.
  6. Within 4 seconds after the EPS indicator goes off, return the steering wheel to the straight ahead driving position and release the steering wheel. The EPS indicator comes on again 4 seconds after releasing the steering wheel.
  7. Within 4 seconds after the EPS indicator comes on, turn the steering wheel 45 degrees to the left again and hold it in that position.

    The EPS indicator goes off after 4 seconds.

  8. Within 4 seconds after the EPS indicator goes off, return the steering wheel to the straight ahead driving position again and release the steering wheel. The EPS indicator blinks twice 4 seconds after releasing the steering wheel, indicating that the DTC was erased.
    NOTE: If the EPS indicator does not blink twice, an error was made in the procedure and the DTC was not erased. Turn the ignition switch to LOCK (0), and repeat the operation from step 3.
  9. Turn the ignition switch to LOCK (0) within 5 seconds after the EPS indicator blinks twice.
    NOTE: If the ignition switch is not turned to LOCK (0) within 5 seconds after the EPS indicator blinks, the system will go to the memorizing mode of the torque sensor neutral position. To avoid this, turn the steering wheel 45 degrees to left from the straight ahead driving position and turn the ignition switch to LOCK (0). This will return the system to the alert mode.
  10. Disconnect the HDS from the DLC.
  11. Recheck for the DTC to be sure it has been erased.
Fig 2: EPS Indicator Blinking Pattern
G06231882Courtesy of AMERICAN HONDA MOTOR CO., INC.