LEMON Manuals: Even more car manuals for everyone: 1960-2025
Home >> Honda >> 2009 >> S2000 Base >> Repair and Diagnosis >> Transmission >> Manual Transmission Overhaul >> Countershaft Reassembly >> Exploded View >> 2004-2008 models:
April 5, 2026: LEMON Manuals is launched! Read the announcement.

2004-2008 models:

Fig 1: Exploded View Of Countershaft (2004-2008 Models) With Torque Specifications
G03693503Courtesy of AMERICAN HONDA MOTOR CO., INC.

Special Tools Required 

NOTE: Refer to the Exploded View as needed during this procedure.
  1. Install the 44 x 50 x 28 mm needle bearing and 2nd gear.
  2. Install the friction damper (A), the double cone synchro (B), and the synchro spring (C) as shown.
    Fig 2: Installing Friction Damper, Double Cone Synchro And Synchro Spring
    G03693504Courtesy of AMERICAN HONDA MOTOR CO., INC.
  3. Install the 1st/2nd synchro hub (A) and the sleeve (B) as shown.
    Fig 3: Installing 1st/2nd Synchro Hub And Sleeve
    G03693505Courtesy of AMERICAN HONDA MOTOR CO., INC.
  4. Install the synchro spring (A) and the double cone synchro (B) as shown.
    Fig 4: Installing Synchro Spring And Double Cone Synchro
    G03693506Courtesy of AMERICAN HONDA MOTOR CO., INC.
  5. Install the friction damper (2000-2003 models) on 1st gear, then install 1st gear by aligning the grooves as shown.
    Fig 5: Installing 1st Gear (2000-2003 Models)
    G03693507Courtesy of AMERICAN HONDA MOTOR CO., INC.
  6. Install the 51 x 57 x 23 mm needle bearing, distance collar, and 38 x 43 x 26 mm needle bearing.
  7. Install the reverse gear.
    Fig 6: Installing Reverse Gear
    G03693508Courtesy of AMERICAN HONDA MOTOR CO., INC.
  8. Install the synchro ring and synchro spring.
  9. Install the reverse synchro hub (A) and the sleeve (B).
    Fig 7: Installing Reverse Synchro Hub And Sleeve
    G03693509Courtesy of AMERICAN HONDA MOTOR CO., INC.
  10. Install the ball bearing (A) using the special tools and a press as shown.
    Fig 8: Installing Ball Bearing
    G03693510Courtesy of AMERICAN HONDA MOTOR CO., INC.
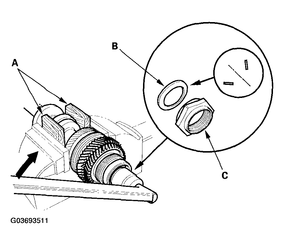
  11. Securely clamp 4th and 5th gears in a bench vise with wood blocks (A).
    Fig 9: Installing Spring Washer And New 27 mm Locknut
    G03693511Courtesy of AMERICAN HONDA MOTOR CO., INC.
  12. Install the spring washer (B) and the new 27 mm locknut (C).
  13. Tighten the 27 mm locknut to the specified value.

    Torque: 162 --> 0 --> 162 N.m (16.5 --> 0 --> 16.5 kgf.m, 119 --> 0 --> 119 lbf.ft) 

  14. Stake the locknut tab into the groove.
    Fig 10: Staking Locknut Tab Into Groove
    G03693512Courtesy of AMERICAN HONDA MOTOR CO., INC.
  15. Install the needle bearing inner race (A) using the special tools and a press as shown.
    Fig 11: Installing Needle Bearing Inner Race
    G03693513Courtesy of AMERICAN HONDA MOTOR CO., INC.
  16. Install the needle bearing.
    Fig 12: Installing Needle Bearing
    G03693514Courtesy of AMERICAN HONDA MOTOR CO., INC.