LEMON Manuals: Even more car manuals for everyone: 1960-2025
Home >> Honda >> 2010 >> Accord V6-3.5L >> Repair and Diagnosis >> Heating and Air Conditioning >> Control Assembly >> Service and Repair >> Climate Control Switch Removal/Installation
April 5, 2026: LEMON Manuals is launched! Read the announcement.

Climate Control Switch Removal/Installation




Climate Control Switch Bulb Replacement

1. Remove the driver's climate control switch.

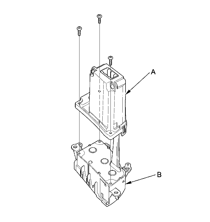
2. Remove the screws and cover (A) from the driver's climate control switch (B).






3. Remove the bulb(s) (A) with a flat-tip screwdriver.





4. Install the bulb(s) in the reverse order of removal. After installation, operate the various functions to see whether it works properly.