LEMON Manuals: Even more car manuals for everyone: 1960-2025
Home >> Honda >> 2010 >> Civic L4-1.8L CNG >> Repair and Diagnosis >> Powertrain Management >> Computers and Control Systems >> Data Link Connector >> Testing and Inspection
April 5, 2026: LEMON Manuals is launched! Read the announcement.

Data Link Connector: Testing and Inspection




DLC Circuit Troubleshooting

NOTE: If you suspect the HDS or the HDS DLC cable may be the source of the communication problem, verify that they are working properly by connecting them to a known-good, like vehicle and system, and checking for communication problems.

1. Turn the ignition switch to LOCK (0).

2. Connect the HDS to the DLC. Reading and Clearing Diagnostic Trouble Codes

3. Turn the ignition switch to ON (II), and read the HDS.

Does the HDS identify the vehicle?
YES - Go to step 4.

NO - Go to step 21.


4. Check for Pending or Confirmed DTCs in the PGM-FI system with the HDS.

Are any Pending or Confirmed DTCs indicated?
YES - Go to the indicated DTC's troubleshooting.

NO - Go to step 5.


5. Turn the ignition switch to LOCK (0).

6. Turn the ignition switch to ON (II), and watch the SRS indicator.

Does the SRS indicator come on and go off?
YES - Go to step 7.

NO - Go to the SRS system's general troubleshooting information. Reading and Clearing Diagnostic Trouble Codes


7. Turn the ignition switch to LOCK (0).

8. Turn the ignition switch to ON (II), and watch the ABS indicator.

Does the ABS indicator come on and go off?
YES - Go to step 9.

NO - Go to the ABS symptom troubleshooting for an ABS indicator and brake system indicator do not go off. Symptom Troubleshooting


9. Turn the ignition switch to LOCK (0).

10. Turn the ignition switch to ON (II), and watch the immobilizer indicator.

Does the immobilizer indicator stay on or flash?
YES - Go to the immobilizer system's troubleshooting. Immobilizer System Symptom Troubleshooting Information

NO -
- With TPMS: Go to step 11.

- Without TPMS: Go to step 13.



11. Turn the ignition switch to LOCK (0).

12. Turn the ignition switch to ON (II), and watch the TPMS indicator.

Does the TPMS indicator come on and go off?
YES - Go to step 13.

NO - Go to the TPMS symptom troubleshooting for a TPMS indicator does not go off, and no DTCs are stored. TPMS Indicator Does Not Go Off, and No DTCs Are Stored


13. Do the gauge self-diagnostic function. Testing and Inspection

14. Check for B-CAN system DTCs without the HDS. Reading and Clearing Diagnostic Trouble Codes

Are any B-CAN DTCs indicated?
YES - Go to the indicated DTC's troubleshooting.

NO - Go to step 15.


15. Turn the ignition switch to LOCK (0), then do the battery terminal disconnection procedure, Procedures and wait at least 3 minutes before continuing.

16. Disconnect the HDS from the DLC.

17. Check for continuity between DLC terminal No. 7 and body ground.

Is there continuity?
YES - Go to step 18.

NO - Go to step 19.






18. Continue to check for continuity between DLC terminal No. 7 and body ground while disconnecting these connectors, one at a time:
- SRS unit connector A (28P)

- ABS modulator-control unit 25P connector

- Immobilizer-keyless control unit 7P connector

- TPMS control unit 20P connector (with TPMS)

- Audio unit (17P) connector

- Under-dash fuse/relay box Q (16P) connector

Does continuity go away when one of the above parts is disconnected?
YES - Replace the part that caused an open when it was disconnected.

NO - Repair short in the wire between the DLC (K-line) and the ABS modulator-control unit, the SRS unit, the immobilizer-keyless control unit, the TPMS control unit (with TPMS), the audio unit, or the under-dash fuse/relay box.


19. Connect DLC terminal No. 7 to body ground with a jumper wire.






20. Check for continuity between body ground and these connector terminals:





Is there continuity between body ground and each of the terminals in the chart?
YES - Replace the part that does not communicate with the HDS.

NO - Repair open in the wire between the DLC (K-line) and the appropriate connector.


21. Do the gauge self-diagnostic function. Testing and Inspection

22. Check for B-CAN system DTCs without the HDS. Reading and Clearing Diagnostic Trouble Codes

Is DTC B1168, B1169, and/or B1178 indicated?
YES - Go to step 33.

NO - Go to step 23.


23. Turn the ignition switch to LOCK (0).

24. Disconnect the HDS from the DLC.

25. Measure the voltage between DLC terminal No. 16 and body ground.

Is there battery voltage?
YES - Go to step 26.

NO - Repair open in the wire between DLC terminal No. 16 and the No. 23 BACK UP (10 A) fuse in the under-hood fuse/relay box.






26. Measure the voltage between DLC terminals No. 4 and No. 16.

Is there battery voltage?
YES - Go to step 27.

NO - Repair open in the wire between DLC terminal No 4 and G502.






27. Connect the HDS to the DLC. Reading and Clearing Diagnostic Trouble Codes

28. Jump the SCS line with the HDS.

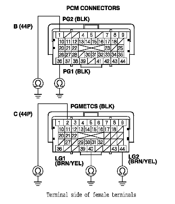
29. Disconnect PCM connector A (44P).

30. Disconnect the HDS from the DLC.

31. Check for continuity between PCM connector terminal A36 and DLC terminal No. 6.

Is there continuity?
YES - Go to step 32.

NO - Repair open in the wire between the PCM (A36) and DLC terminal No. 6.






32. Check for continuity between PCM connector terminal A37 and DLC terminal No. 14.

Is there continuity?
YES - Reconnect all connectors, then update the PCM if it does not have the latest software, ECM/PCM Update or substitute a known-good PCM, Reading and Clearing Diagnostic Trouble Codes then recheck. If the symptom/indication goes away and the PCM was updated, troubleshooting is complete. If the symptom/indication goes away and the PCM was substituted, replace the original PCM. Service and Repair

NO - Repair open in the wire between the PCM (A37) and DLC terminal No. 14.






33. Try to start the engine.

Does the engine start and idle smoothly?
YES - Go to the F-CAN circuit troubleshooting. F-CAN Circuit Troubleshooting

NO - Go to step 34.


34. Turn the ignition switch to LOCK (0).

35. Check the No. 2 IG MAIN (50 A) fuse in the under-hood fuse/relay box.

Is the fuse OK?
YES - Repair open in the wire between the No. 2 IG MAIN (50 A) fuse and the ignition switch. If the wire is OK, go to step 36.

NO - Repair short in the wire between the No. 2 IG MAIN (50 A) fuse and the under-hood fuse/relay box. Also replace the No. 2 IG MAIN (50 A) fuse.


36. Inspect the No. 19 FI MAIN (15 A) fuse in the under-hood fuse/relay box.

Is the fuse OK?
YES - Go to step 43.

NO - Go to step 37.


37. Remove the blown No. 19 FI MAIN (15 A) fuse from the under-hood fuse/relay box.

38. Remove PGM-FI main relay 1 (C) from the under-hood fuse/relay box.






39. Check for continuity between body ground and PGM-FI main relay 1 4P connector terminals No. 1 and No. 3 individually.

Is there continuity?
YES - Replace the under-hood fuse/relay box. Under-Hood Fuse/Relay Box Removal/Installation Also replace the No. 19 FI MAIN (15 A) fuse.

NO - Go to step 40.






40. Disconnect each of the parts or connectors below, one at a time, while checking for continuity between PGM-FI main relay 1 4P connector terminal No. 2 and body ground.
- Fuel shut-off solenoid valve relay

- PCM connector A (44P)

- Camshaft position (CMP) sensor 3P connector

- Crankshaft position (CKP) sensor 3P connector

- Injector control module relay

- Ignition coil relay

- Electronic throttle control system (ETCS) control relay

Does continuity go away when one of the above parts is disconnected?
YES - Replace the part that made the short to body ground go away when disconnected. If the part is the PCM, reconnect all connectors, then update the PCM if it does not have the latest software, ECM/PCM Update or substitute a known-good PCM, Reading and Clearing Diagnostic Trouble Codes then recheck. If the symptom/indication goes away and the PCM was updated, troubleshooting is complete. If the symptom/indication goes away and the PCM was substituted, replace the original PCM. Service and Repair Also replace the No. 19 FI MAIN (15 A) fuse.

NO - Go to step 41.






41. Disconnect these parts and connectors:
- Fuel shut-off solenoid valve relay

- PCM connector A (44P)

- Camshaft position (CMP) sensor

- Crankshaft position (CKP) sensor

- Injector control module relay

- Ignition coil relay

- Electronic throttle control system (ETCS) control relay

42. Check for continuity between PGM-FI main relay 1 4P connector terminal No. 2 and body ground.

Is there continuity?
YES - Repair short in the wire between PGM-FI main relay 1 and each part. Also replace the No. 19 FI MAIN (15 A) fuse.

NO - Replace PGM-FI main relay 1. Also replace the No. 19 FI MAIN (15 A) fuse.






43. Inspect the No. 2 FUEL PUMP (15 A) fuse in the under-dash fuse/relay box.

Is the fuse OK?
YES - Go to step 51.

NO - Go to step 48.


44. Remove the blown No. 2 FUEL PUMP (15 A) fuse from the under-dash fuse/relay box.

45. Remove the driver's dashboard undercover. Driver's Dashboard Undercover Removal/Installation

46. Remove the fuel shut-off solenoid valve relay (A) from the relay holder.






47. Test the fuel shut-off solenoid valve relay. Testing and Inspection

Is the relay OK?
YES - Go to step 48.

NO - Replace the fuel shut-off solenoid valve relay. Also replace the No. 2 FUEL PUMP (15A) fuse.


48. Check for continuity between the fuel shut-off solenoid valve relay 5P connector terminal No. 1 and body ground.

Is there continuity?
YES - Go to step 49.

NO - Go to step 51.






49. Jump the SCS line with the HDS, then disconnect PCM connector C (44P).

50. Check for continuity between PCM connector terminal C36 and body ground.

Is there continuity?
YES - Repair short in the wire between the No. 2 FUEL PUMP (15 A) fuse and the PCM (C36), between the No. 2 FUEL PUMP (15 A) fuse and the fuel shut-off solenoid valve relay, or between the No. 2 FUEL PUMP (15 A) fuse and the immobilizer control unit. Also replace the No. 2 FUEL PUMP (15 A) fuse.

NO - Do the fuel shut-off solenoid valve 1/fuel shut-off solenoid valve 2 troubleshooting. Testing and Inspection






51. Jump the SCS line with the HDS.

52. Disconnect PCM connectors A (44P) and C (44P).

53. Turn the ignition switch to ON (II).

54. Measure the voltage between PCM connector terminal C36 and body ground.

Is there battery voltage?
YES - Go to step 55.

NO - Repair open in the wire between the No. 2 FUEL PUMP (15 A) fuse and the PCM (C36).






55. Measure the voltage between PCM connector terminal A6 and body ground.

Is there battery voltage?
YES - Go to step 60.

NO - Go to step 56.






56. Turn the ignition switch to LOCK (0).

57. Remove PGM-FI main relay 1 (C) from the under-hood fuse/relay box.






58. Measure the voltage between PGM-FI main relay 1 4P connector terminal No. 3 and body ground.

Is there battery voltage?
YES - Go to step 59.

NO - Replace the under-hood fuse/relay box. Under-Hood Fuse/Relay Box Removal/Installation






59. Check for continuity between PGM-FI main relay 1 4P connector terminal No. 4 and PCM connector terminal A6.

Is there continuity?
YES - Test PGM-FI main relay 1. Testing and Inspection If the relay is OK, update the PCM if it does not have the latest software, ECM/PCM Update or substitute a known-good PCM, Reading and Clearing Diagnostic Trouble Codes then recheck. If the symptom/indication goes away and the PCM was updated, troubleshooting is complete. If the symptom/indication goes away and the PCM was substituted, replace the original PCM. Service and Repair

NO - Repair open in the wire between the PCM (A6) and PGM-FI main relay 1.






60. Turn the ignition switch to LOCK (0).

61. Remove PGM-FI main relay 1 (C) from the under-hood fuse/relay box.






62. Measure the voltage between PGM-FI main relay 1 4P connector terminal No. 1 and body ground.

Is there battery voltage?
YES - Go to step 63.

NO - Replace the under-hood fuse/relay box. Under-Hood Fuse/Relay Box Removal/Installation






63. Check for continuity between PGM-FI main relay 1 4P connector terminal No. 2 and PCM connector terminal A8.

Is there continuity?
YES - Go to step 64.

NO - Repair open in the wire between the PCM (A8) and PGM-FI main relay 1.






64. Test PGM-FI main relay 1. Testing and Inspection

Is PGM-FI main relay 1 OK?
YES - Go to step 65.

NO - Replace PGM-FI main relay 1.


65. Check the injector control module relay circuit. Injector Control Module Relay Circuit Troubleshooting

Is the injector control module relay circuit OK?
YES - Go to step 67.

NO - Follow the result of the injector control module relay troubleshooting. Injector Control Module Relay Circuit Troubleshooting


66. Check the injector control module circuit. Injector Control Module Circuit Troubleshooting

Is the injector control module circuit OK?
YES - Go to step 67.

NO - Follow the result of the injector control module circuit troubleshooting. Injector Control Module Circuit Troubleshooting


67. Disconnect PCM connector B (44P).

68. Check for continuity between body ground and PCM connector terminals B1, B36, C2, C40, and C44 individually.

Is there continuity?
YES - Go to step 69.

NO - Repair open in the wire between the PCM (B1, B36, C2, C40, C44) and G101.






69. Check for continuity between PCM connector terminal C13 and body ground.

Is there continuity?
YES - Go to step 70.

NO - Go to step 71.






70. Continue to check for continuity between PCM connector terminal C13 and body ground, while disconnecting these connectors, one at a time:
- MAP sensor 3P connector

- Rocker arm oil pressure sensor (EOP sensor) 3P connector ('06 model)

- Output shaft (countershaft) speed sensor 3P connector

Does continuity go away when one of the above connectors is disconnected?
YES - Replace the sensor that caused an open when it was disconnected.

NO - Repair short in the wire between the PCM (C13) and the MAP sensor, the rocker arm oil pressure sensor (EOP sensor) ('06 model), or the output shaft (countershaft) speed sensor.


71. Check for continuity between PCM connector terminal B18 and body ground.

Is there continuity?
YES - Go to step 72.

NO - Go to step 73.






72. Continue to check for continuity between PCM connector terminal B18 and body ground, while disconnecting these connectors, one at a time:
- IMT actuator 5P connector

- Rocker arm oil pressure sensor (EOP sensor) 3P connector ('07-10 models)

- Input shaft (mainshaft) speed sensor 3P connector

Does continuity go away when one of the above connectors is disconnected?
YES - Replace the part that caused an open when it was disconnected.

NO - Repair short in the wire between the PCM (B18) and the IMT actuator, the rocker arm oil pressure sensor (EOP sensor) ('07-10 models), or the input shaft (mainshaft) speed sensor.


73. Check for continuity between PCM connector terminal C12 and body ground.

Is there continuity?
YES - Go to step 74.

NO - Go to step 75.






74. Continue to check for continuity between PCM connector terminal C12 and body ground, while disconnecting the throttle body 6P connector.

Is there continuity?
YES - Repair short in the wire between the PCM (C12) and the throttle body.

NO - Replace the throttle body. Removal and Replacement


75. Check for continuity between PCM connector terminal A25 and body ground.

Is there continuity?
YES - Go to step 76.

NO - Go to step 77.






76. Continue to check for continuity between PCM connector terminal A25 and body ground, while disconnecting the APP sensor 6P connector.

Is there continuity?
YES - Repair short in the wire between the PCM (A25) and the APP sensor.

NO - Replace the accelerator pedal module. Service and Repair


77. Check for continuity between PCM connector terminal A24 and body ground.

Is there continuity?
YES - Go to step 78.

NO - Go to step 79.






78. Continue to check for continuity between PCM connector terminal A24 and body ground, while disconnecting the APP sensor 6P connector.

Is there continuity?
YES - Repair short in the wire between the PCM (A24) and the APP sensor.

NO - Replace the accelerator pedal module. Service and Repair


79. Check for continuity between PCM connector terminal A19 and body ground.

Is there continuity?
YES - Go to step 80.

NO - Reconnect all connectors, then update the PCM if it does not have the latest software, ECM/PCM Update or substitute a known-good PCM, Reading and Clearing Diagnostic Trouble Codes then recheck. If the symptom/indication goes away and the PCM was updated, troubleshooting is complete. If the symptom/indication goes away and the PCM was substituted, replace the original PCM. Service and Repair






80. Continue to check for continuity between PCM connector terminal A19 and body ground, while disconnecting these connectors, one at a time:
- A/C pressure sensor 3P connector

- Fuel rail pressure sensor 3P connector

- FTP sensor 3P connector

Does continuity go away when one of the above connectors is disconnected?
YES - Replace the sensor that caused an open when it was disconnected.

NO - Repair short in the wire between the PCM (A19) and the A/C pressure sensor, the fuel rail pressure sensor, or the FTP sensor.