LEMON Manuals: Even more car manuals for everyone: 1960-2025
Home >> Honda >> 2010 >> Civic L4-1.8L >> Repair and Diagnosis >> Powertrain Management >> Computers and Control Systems >> Knock Sensor >> Service and Repair
April 5, 2026: LEMON Manuals is launched! Read the announcement.

Knock Sensor: Service and Repair




Knock Sensor Replacement

1. Remove the intake manifold. Service and Repair

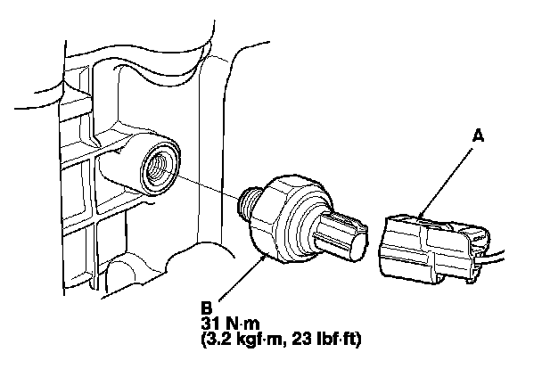
2. Disconnect the knock sensor 1P connector (A).

3. Remove the knock sensor (B).

4. Install the parts in the reverse order of removal.