LEMON Manuals: Even more car manuals for everyone: 1960-2025
Home >> Honda >> 2010 >> Element 2WD L4-2.4L >> Repair and Diagnosis >> Lighting and Horns >> Testing and Inspection >> Daytime Running Lights Control Unit Input Test
April 5, 2026: LEMON Manuals is launched! Read the announcement.

Daytime Running Lights Control Unit Input Test




Daytime Running Lights Control Unit Input Test

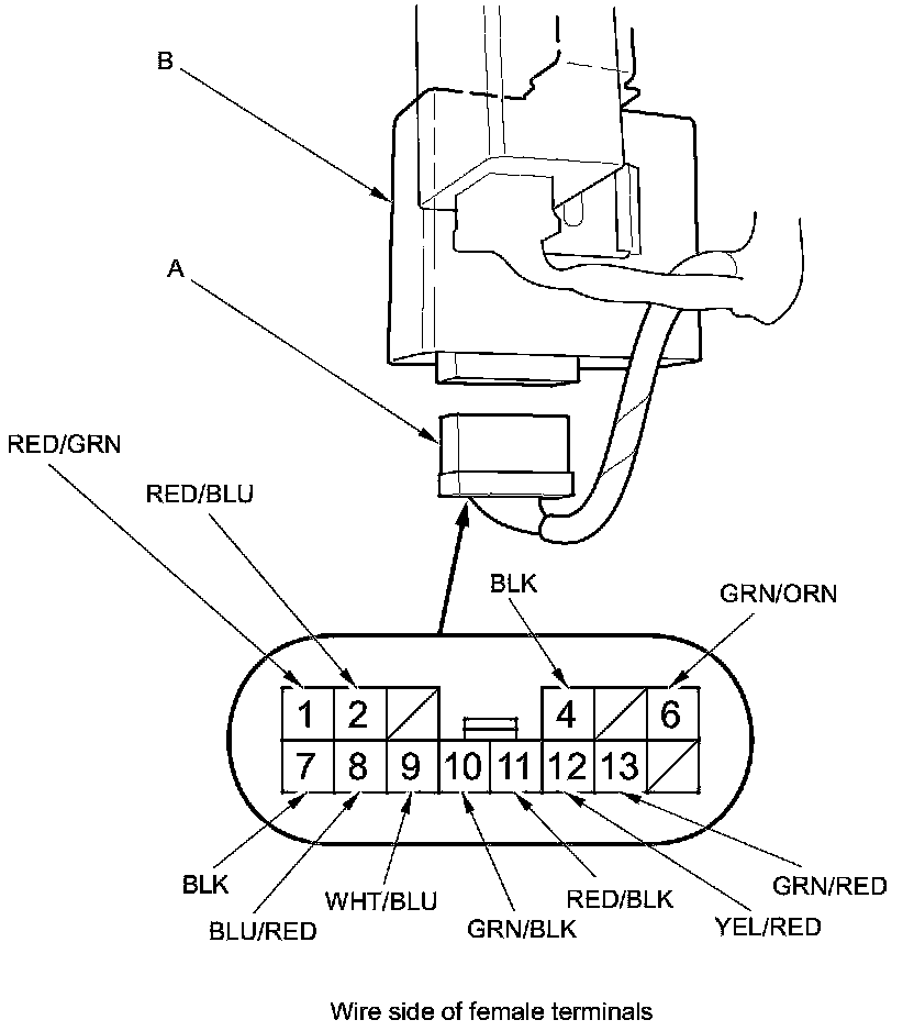
'09-11 models

1. Remove the driver's dashboard lower cover Driver's Dashboard Lower Cover Removal/Installation.

2. Disconnect the 14P connector (A) from the daytime running lights control unit (B).





3. Inspect the connector and socket terminals to be sure they are all making good contact.

- If the terminals are bent, loose or corroded, repair them as necessary, and recheck the system.
- If the terminals look OK, go to step 4.

4. With the connectors still disconnected, do the following input tests:

- If any test indicates a problem, find and the cause, then recheck the system.
- If the input tests prove OK, go to step 5.





5. Reconnect the connectors to the daytime running lights control unit, and do the following input tests:

- If any test indicates a problem, find and correct the cause, then recheck the system.
- If all the input tests prove OK, the control unit must be faulty; replace it.