LEMON Manuals: Even more car manuals for everyone: 1960-2025
Home >> Honda >> 2010 >> Element 2WD L4-2.4L >> Repair and Diagnosis >> Power and Ground Distribution >> Testing and Inspection
April 5, 2026: LEMON Manuals is launched! Read the announcement.

Power and Ground Distribution: Testing and Inspection




Power Relay Test

Special Tools Required

- Relay Puller 07AAC-000A2A1 or 07AAC-000A1A0

Use this chart to identify the type of relay, then do the test listed for it.

NOTE: To do the turn signal/hazard relay input test Turn Signal/Hazard Relay Input Test.









Carefully remove the relay using the relay puller. Do not use pliers. Pliers will damage the relay.






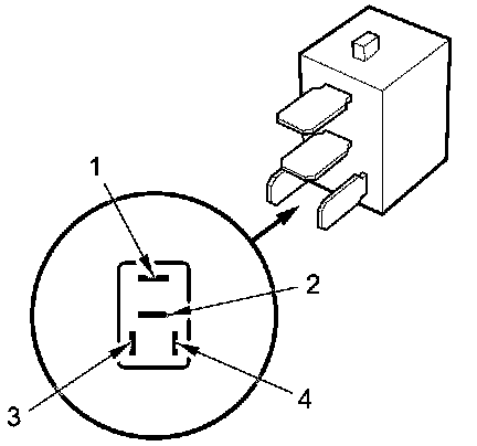
Normally-Open Four-Terminal Type A

Check for continuity between the terminals.

- There should be continuity between terminals No. 1 and No. 2 when battery power is connected to terminal No. 4, and body ground is connected to terminal No. 3.
- There should be no continuity between terminals No. 1 and No. 2 when power is disconnected.










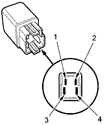
Normally-Open Four-Terminal Type B

Check for continuity between the terminals.

- There should be continuity between terminals No. 3 and No. 4 when battery power is connected to terminal No. 2, and body ground is connected to terminal No. 1.
- There should be no continuity between terminals No. 3 and No. 4 when power is disconnected.





Blower motor relay





Normally-Open Four-Terminal Type C

Check for continuity between the terminals.

- There should be continuity between terminals No. 4 and No. 2 when battery power is connected to terminal No. 3, and body ground is connected to terminal No. 1.
- There should be no continuity between terminals No. 4 and No. 2 when power is disconnected.





Rear window defogger relay





Five-Terminal Type

Check for continuity between the terminals.

- There should be continuity between terminals No. 1 and No. 2 when battery power is connected to terminal No. 5, and body ground is connected to terminal No. 3.
- There should be continuity between terminals No. 1 and No. 4 when power is disconnected.