LEMON Manuals: Even more car manuals for everyone: 1960-2025
Home >> Honda >> 2010 >> Element 2WD L4-2.4L >> Repair and Diagnosis >> Powertrain Management >> Transmission Control Systems >> Testing and Inspection >> Component Tests and General Diagnostics >> D3 Switch Test/Replacement
April 5, 2026: LEMON Manuals is launched! Read the announcement.

D3 Switch Test/Replacement




D3 Switch Test/Replacement

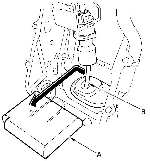
1. Remove the center lower cover Dashboard Center Lower Cover Removal/Installation.

2. Remove the shift lever trim Shift Lever Trim Removal/Installation.

3. Move the shift lever to R.

4. Remove the shift cable insulator (A) from the shift cable (B).






5. Slide the lock tab (A) down on the shift cable end holder (B).





6. Grasp the shift cable lock (C) in the middle with angle-jaw needle-nose pliers (D), and remove it from the shift cable end and shift cable end holder. Do not pry the shift cable lock with a screwdriver, it may damage the shift cable end holder.

7. Separate the shift cable end (A) from the shift cable end holder (B).






8. Rotate the socket holder (A) on the shift cable (B) a quarter turn; the tab (C) on the socket holder will be in the opening (D) of the shift cable bracket (E). Then slide the socket holder out to remove the shift cable from the shift cable bracket. Do not remove the shift cable by twisting the shift cable guide (F) and damper (G).






9. Remove the shift lever mounting bolts (A).






10. Remove the shift lever mounting bolt (A), and remove the shift cable bracket (B).





11. Remove the D3 switch/shift lock solenoid connector (C), then disconnect the connector.

12. Check for continuity between D3 switch/shift lock solenoid connector terminals No. 1 and No. 2 while pressing the D3 button and when the D3 button is released. There should be continuity while pressing the D3 button and no continuity when the D3 button is released.

13. If the D3 switch works properly, connect the connector and install the removed parts. If the D3 switch is faulty, go to step 14, and replace the D3 switch.

14. Remove the shift lever assembly.

15. Wrap the end of a flat-tip screwdriver with tape, pry the D3 switch cover lock, and remove the D3 switch cover (A).






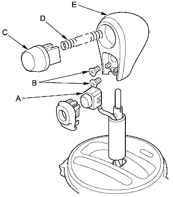
16. Remove the D3 switch (A) by expanding its lock tabs, then remove the screws (B), the shift lever button (C), the button spring (D), and the shift lever knob (E).






17. Remove the A/T gear position indicator panel light socket (A), then separate the A/T gear position indicator panel (B) from the shift lever bracket (C).






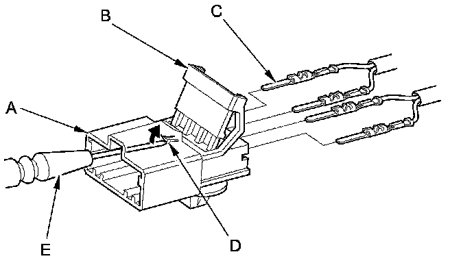
18. Pry the lock tabs on the back of the D3 switch/shift lock solenoid connector (A), and remove the back cover (B).





19. Remove the terminal (C) from the connector by pushing the lock tab (D) up in the connector using a thin blade screwdriver (E). Remove all four terminals.

20. Remove the D3 switch harness clamp from the shift lever bracket and from the harness, and pull the D3 switch harness out of the shift lever assembly.

21. Insert a new D3 switch harness (A) into the shift lever ring (B), and route the harness through the groove (C) of the shift lever (D) into the hole (E). Do not pinch the harness.






22. Wind the D3 switch harness (A) one turn around the clamp (B) on the bottom of the shift lever.





23. Install the harness clamp (C) at the reference tape (D) on the harness, then install the clamp in the hole (E) of the shift lever bracket (F).

24. Install the A/T gear position indicator panel (A) on the shift lever bracket. Apply silicone grease to the shift lever button (B), the button spring (C), and the push rod (D) of the shift lever (E), and install the button spring, the shift lever button, and the shift lever knob (F). Install new screws (G), and secure the shift lever knob to the shift lever.

NOTE: Make sure not to get any silicone grease on the terminal part of the connectors and switches, especially if you have silicone grease on your hands or gloves.





25. Install the D3 switch (H) and the D3 switch cover (I).

26. Install the A/T gear position indicator panel light socket (A).






27. Install the BLU/RED harness terminal (A) of the shift lock solenoid in the No. 3 cavity, and BLK harness terminal (B) in the No. 4 cavity.





28. Install the D3 switch harness terminals (C) in the No. 1 and No. 2 cavities. Either D3 switch harness terminal can be installed in No. 1 and No. 2 cavities.

29. Make sure that all four terminals lock securely, then install the back cover (D) securely in place.

30. Install the shift lever assembly A/T Shift Lever Installation.