LEMON Manuals: Even more car manuals for everyone: 1960-2025
Home >> Honda >> 2010 >> Element 2WD L4-2.4L >> Repair and Diagnosis >> Restraints and Safety Systems >> Air Bag Systems >> Air Bag Control Module >> Service and Repair >> ODS Unit Replacement
April 5, 2026: LEMON Manuals is launched! Read the announcement.

ODS Unit Replacement




ODS Unit Replacement

Removal

1. Do the battery terminal disconnection procedure, then wait at least 3 minutes before starting work.

2. Remove the front passenger's seat Front Seat Removal/Installation.

3. Turn over the seat-back cover/pad to gain access to the ODS unit Front Seat-Back Cover Replacement.

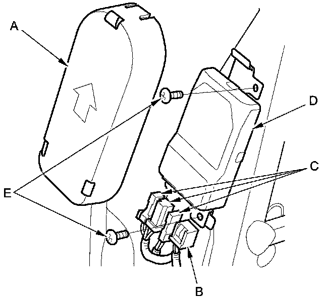
4. Remove the cover (A), then disconnect the ODS unit 18P connector (B) and the OPDS sensor connectors (C) from the ODS unit (D).





5. Remove the two screws (E) and the ODS unit.

Installation

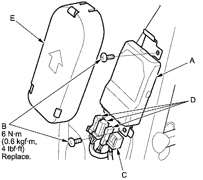
1. Place the ODS unit (A) on the seat-back frame. Tighten the two screws (B), and connect the ODS unit 18P connector (C) and the OPDS sensor connectors (D) to the ODS unit. Reinstall the cover (E).





2. Install the front passenger's seat-back cover/pad in the reverse order of removal Front Seat-Back Cover Replacement.

3. Install the front passenger's seat Front Seat Removal/Installation.

4. Do the battery terminal reconnection procedure.

5. Set the seat-back in the normal position, and make sure there is nothing on or under the front passenger's seat.

6. Clear any DTCs.

7. Do the ODS unit initialization Programming and Relearning.

8. Confirm proper SRS operation: Turn the ignition switch to ON (II), and check that the SRS indicator comes on for about 6 seconds and then goes off.