LEMON Manuals: Even more car manuals for everyone: 1960-2025
Home >> Honda >> 2010 >> Element 2WD L4-2.4L >> Repair and Diagnosis >> Windows and Glass >> Windows >> Power Window Switch >> Service and Repair >> Passenger's Power Window Switch Test/Replacement
April 5, 2026: LEMON Manuals is launched! Read the announcement.

Passenger's Power Window Switch Test/Replacement




Passenger's Power Window Switch Test/Replacement

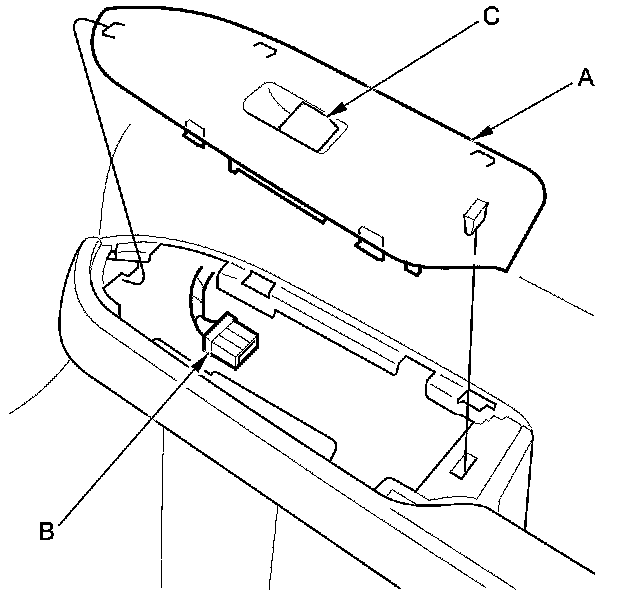
1. Remove the front passenger's switch panel (A).





2. Disconnect the 5P connector (B) from the passenger's power window switch (C).

3. Check for continuity between the terminals in each switch position according to the table.






4. If the continuity is not as specified, remove the two screws and the passenger's power window switch (A).





5. Install the switch in the reverse order of removal.