LEMON Manuals: Even more car manuals for everyone: 1960-2025
Home >> Honda >> 2010 >> Element 4WD L4-2.4L >> Repair and Diagnosis >> Heating and Air Conditioning >> Service and Repair >> A/C System Charging
April 5, 2026: LEMON Manuals is launched! Read the announcement.

A/C System Charging




A/C System Charging

CAUTION
- Air conditioning refrigerant or lubricant vapor can irritate your eyes, nose, or throat.
- Be careful when connecting service equipment.
- Do not breathe refrigerant or vapor.


NOTE:

- If accidental system discharge occurs, ventilate the work area before resuming service.
- Additional health and safety information may be obtained from the refrigerant and lubricant manufacturers.

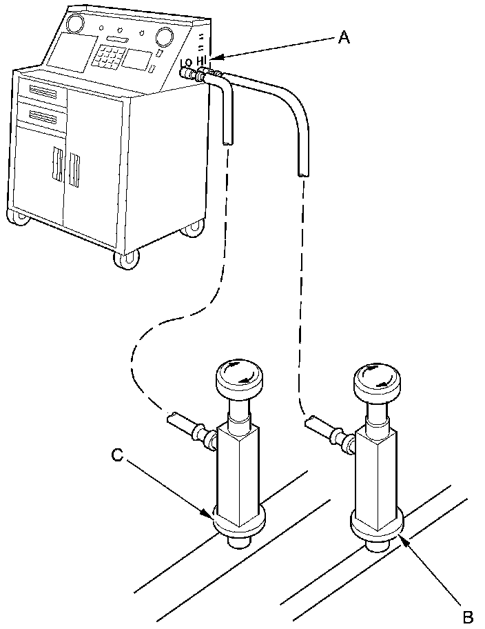
1. Connect an R-134a refrigerant recovery/recycling/charging station (A) to the high-pressure service port (B) and the low-pressure service port (C), as shown, following the equipment manufacturer's instructions.






2. Recover the refrigerant in the A/C system A/C Refrigerant Recovery.

3. Evacuate the system A/C System Evacuation. If the system cannot reach a vacuum of -93.3 kPa (-700 mmHg, -27.6 inHg) in 15 minutes, or cannot hold a vacuum for at least 15 minutes, there is probably a large leak. Do the refrigerant leak check A/C Refrigerant Leak Check, and repair any leaks before charging the system.

4. Add the same amount of new refrigerant oil to the system that was removed during recovery. Use only DENSO ND-OIL 8 refrigerant oil.

5. Charge the system with the specified amount of R-134a refrigerant. Do not overcharge the system; the A/C compressor will be damaged.

Select the appropriate units of measure for your refrigerant charging station.





6. Check for refrigerant leaks A/C Refrigerant Leak Check.

7. Check the system performance A/C System Test.