LEMON Manuals: Even more car manuals for everyone: 1960-2025
Home >> Honda >> 2010 >> Element SC, Automatic >> Repair and Diagnosis >> External Pages >> Different car >> Section 154 (Fuse/Relay Boxes) >> Connector To Fuse/Relay Box Index >> Passenger's Under Dash Fuse/Relay Box
April 5, 2026: LEMON Manuals is launched! Read the announcement.

Passenger's Under Dash Fuse/Relay Box

WARNING: This page does not describe the selected car, but rather 7 other vehicles, including the 2017 Honda Odyssey, 2016 Honda Odyssey, 2015 Honda Odyssey, 2014 Honda Odyssey, and 2013 Honda Odyssey. However, it is still accessible from the selected car via links, so may be relevant.
Fig 1: Identifying Passenger's Under Dash Fuse/Relay Box Components
G06968533Courtesy of AMERICAN HONDA MOTOR CO., INC.
PASSENGER'S UNDER DASH FUSE/RELAY BOX CONNECTOR TERMINAL CHART

Socket Ref Terminals Connects to Notes
A 11 13 Right engine compartment wire harness (dashboard branch) (see RIGHT ENGINE COMPARTMENT WIRE HARNESS (DASHBOARD BRANCH) (F) )  
Active control engine mount (ACM) control relay 3 4    
B 12 -- Not used  
C 13 2 Right engine compartment wire harness (dashboard branch) (see RIGHT ENGINE COMPARTMENT WIRE HARNESS (DASHBOARD BRANCH) (F) )  
Front lower accessory power socket relay 8 4    
Cargo area accessory power socket relay 9 4    
D 14 42 Right side wire harness (right front branch) (see RIGHT SIDE WIRE HARNESS (RIGHT FRONT BRANCH) (M) )  
E 6 42 Dashboard wire harness (view of middle to passenger's side) (see DASHBOARD WIRE HARNESS (VIEW OF MIDDLE TO PASSENGER'S SIDE) (H) )  
F 4 4 Dashboard wire harness (view of middle to passenger's side) (see DASHBOARD WIRE HARNESS (VIEW OF MIDDLE TO PASSENGER'S SIDE) (H) )  
Front upper accessory power socket relay 7 4    
G 5 2 Audio wire harness (see AUDIO WIRE HARNESS (WITH NAVIGATION) (I) ) (1)
H 10 -- Not used  
Right rear power window relay 2 4    
Seat heater relay 1 4    
(1) With navigation

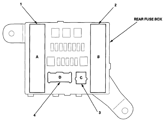
Rear Fuse Box 

Fig 2: Identifying Rear Fuse Box Connector Terminals
G06968534Courtesy of AMERICAN HONDA MOTOR CO., INC.
REAR FUSE BOX CONNECTOR TERMINALS CHART

Socket Ref Terminals Connects to Notes
A 1 49 Rear wire harness (left rear branch) (see REAR WIRE HARNESS (N) )  
B 2 36 Left side wire harness (see LEFT SIDE WIRE HARNESS (LEFT REAR BRANCH) (L) )  
C 3 -- Not used  
D (for trailer) 4 -- Not used