LEMON Manuals: Even more car manuals for everyone: 1960-2025
Home >> Honda >> 2010 >> Fit L4-1.5L >> Parts and Labor >> Starting and Charging >> Starting System >> Images
April 5, 2026: LEMON Manuals is launched! Read the announcement.

Images

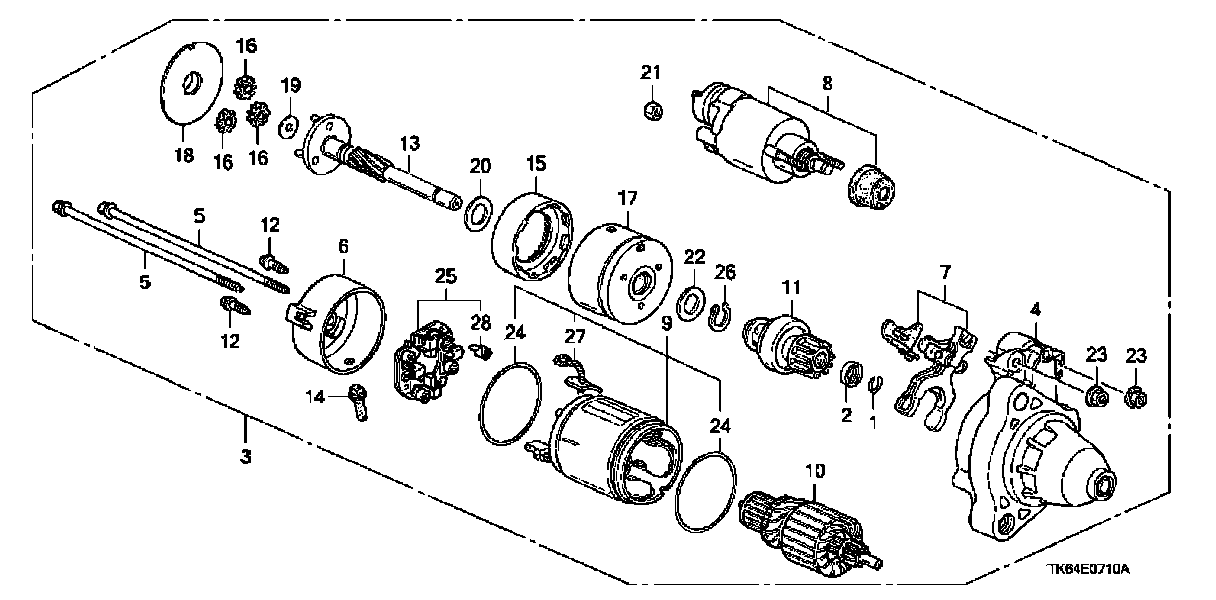
Starter Motor (Denso):