LEMON Manuals: Even more car manuals for everyone: 1960-2025
Home >> Honda >> 2010 >> Fit L4-1.5L >> Repair and Diagnosis >> Starting and Charging >> Starting System >> Ignition Switch >> Service and Repair
April 5, 2026: LEMON Manuals is launched! Read the announcement.

Ignition Switch: Service and Repair




Ignition Switch Replacement

SRS components are located in the area. Review the SRS component locations Locations, and precautions and procedures Service and Repair before doing repairs or servicing.

1. Do the battery terminal disconnection procedure Procedures.

2. Remove the steering column covers Service and Repair.

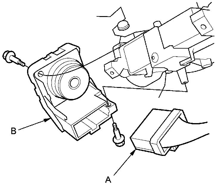
3. Disconnect the 7P connector (A) from the ignition switch (B).





4. Remove the two screws and the ignition switch.

5. Install in the reverse order of removal.

6. Do the battery terminal reconnection procedure Procedures.