LEMON Manuals: Even more car manuals for everyone: 1960-2025
Home >> Honda >> 2010 >> Odyssey V6-3.5L >> Repair and Diagnosis >> Powertrain Management >> Computers and Control Systems >> Information Bus >> Testing and Inspection >> Component Tests and General Diagnostics >> MICU Input Test
April 5, 2026: LEMON Manuals is launched! Read the announcement.

MICU Input Test




MICU Input Test

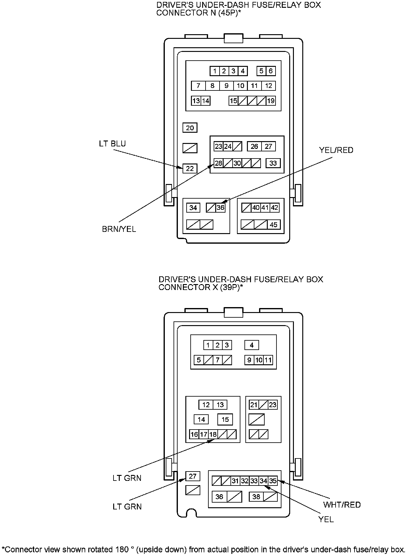
NOTE: Make sure the ignition switch is turned to LOCK (0) before troubleshooting the driver's under-dash fuse/relay box connectors.

1. Remove the left side kick panel Service and Repair.

2. Disconnect driver's under-dash fuse/relay box connectors D, E, F, G, H, J, K, P, W, N, and X.

NOTE: All connector views are shown from wire side of female terminals.










3. Inspect the connector and socket terminals to be sure they are all making good contact.

- If the terminals are bent, loose or corroded, repair them as necessary, and recheck the system.
- If the terminals look OK, go to step 4.

4. With the connectors still disconnected from the under-dash fuse/relay box, do these input tests at the following connector(s).

- If any test indicates a problem, find and correct the cause, then recheck the system.
- If all the input tests prove OK, go to step 5.





5. Reconnect the connectors to the driver's under-dash fuse/relay box, and do these input tests at the following connectors on the driver's under-dash fuse/relay box.

- If any test indicates a problem, find and correct the cause, then recheck the system.
- If all the input tests prove OK, the MICU must be faulty; replace the driver's under-dash fuse/relay box assembly.