LEMON Manuals: Even more car manuals for everyone: 1960-2025
Home >> Honda >> 2010 >> Odyssey V6-3.5L >> Repair and Diagnosis >> Windows and Glass >> Windows >> Power Window Switch >> Service and Repair >> Passenger's Power Window Switch Test/Replacement
April 5, 2026: LEMON Manuals is launched! Read the announcement.

Passenger's Power Window Switch Test/Replacement




Passenger's Power Window Switch Test/Replacement

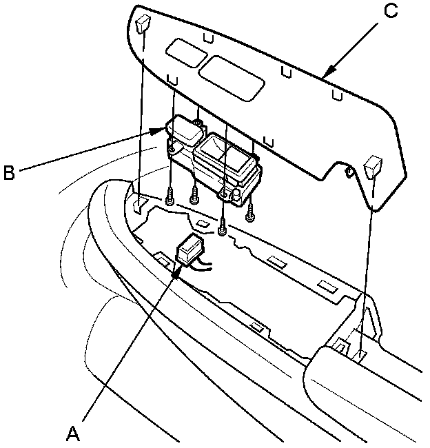
Front Passenger's

1. Remove the front passenger's door panel Service and Repair.

2. Remove the screw and disconnect the 10P connector (A) from the power window switch (B), then remove the switch assembly from the door panel.





3. Remove the four mounting screws, then remove the power window switch from the switch panel (C).

4. Swap the window switch with another known-good switch and test. If the original power window switch is faulty; replace it.

5. Install in the reverse order of removal.

Rear

1. Remove the sliding door panel Sliding Door Panel Removal/Installation.

2. Remove the screw and disconnect the 6P connector (A) from the power window switch (B), then remove the switch assembly from the door panel.





3. Remove the two mounting screws, then remove the power window switch from the switch panel (C).

4. Swap the rear power window switch with another known-good switch and test. If the original power window switch is faulty; replace it.

5. Install in the reverse order of removal.