LEMON Manuals: Even more car manuals for everyone: 1960-2025
Home >> Honda >> 2010 >> Pilot 2WD V6-3.5L >> Repair and Diagnosis >> Accessories and Optional Equipment >> Cellular Phone >> Communications Control Module >> Service and Repair
April 5, 2026: LEMON Manuals is launched! Read the announcement.

Communications Control Module: Service and Repair




HandsFreeLink Control Unit Removal/Installation

NOTE: Tell the customer they need to write down all phone numbers as there is no way to transfer the information in the original HandsFreeLink control unit to a new HandsFreeLink control unit.

1. Remove the passenger's center console trim Center Console Removal/Installation.

2. Loosen the bolts (A) and detach the harness clip (B), then pull out the stay (C).






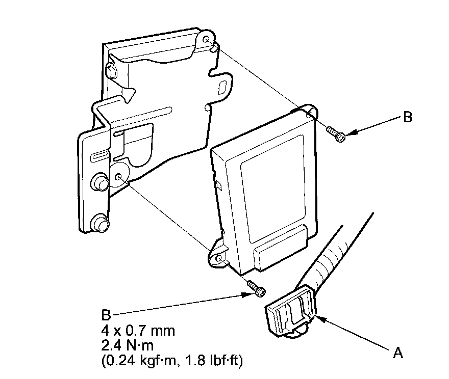
3. Disconnect the connector (A), then remove the bolts (B) and the HandsFreeLink control unit (C).





4. Install the HandsFreeLink control unit in the reverse order of removal.
After replacing the HandsFreeLink control unit, tell the customer:

- They need to pair their phones to the system.
- They need to set up their system preferences.